LEMON Manuals: Even more car manuals for everyone: 1960-2025
Home >> Volvo >> 2009 >> S80 Base >> Repair and Diagnosis (Single Page) >> General Information >> OEM General Information >> Thread Inserts - General Information >> Threads >> Designation Of Thread Insert
April 5, 2026: LEMON Manuals is launched! Read the announcement.

Designation Of Thread Insert

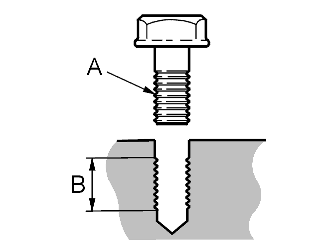
Fig 1: Measuring Old Threads And Thread Length In Hole
GLL100836Courtesy of VOLVO CARS CORPORATION

Measure the old threads and thread length in the hole.

A:  Thread.

B:  Thread length.