LEMON Manuals: Even more car manuals for everyone: 1960-2025
Home >> Volvo >> 2010 >> V70 Base, 3.2 98 >> Repair and Diagnosis >> Accessories & Equipment >> Collision/Avoidance >> Charging System, Electrical Control Modules, Engine Control Module (ECM) - Design And Function >> Rear Seat Entertainment System (RSE), Generation 4.3 (2009-10) >> Function >> Playback Of Audio In The Vehicle's Fixed Audio System
April 5, 2026: LEMON Manuals is launched! Read the announcement.

Playback Of Audio In The Vehicle's Fixed Audio System

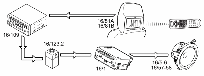
Fig 1: Identifying Rear Seat Entertainment Network
GLL165275Courtesy of VOLVO CARS CORPORATION

HINT: AUX-input (16/123.2) in XC90 has number 17/40.1. 

In order to playback audio from the DVD player using the vehicle's ordinary audio system the Rear seat entertainment module (RSE)/DVD player is connected to the AUX input on the Integrated Audio Module (IAM).

Audio from the DVD-player or AUX-input can be selected as audio source on Integrated Audio Module (IAM) by selecting input signal "AUX" in the audio system's menu system.

When Rear seat entertainment module (RSE)/DVD-player plays a disc, the audio is automatically sent out on the outputs to the Integrated Audio Module (IAM). But no sound will be heard in the speakers until "AUX" has been selected as the audio source.

NOTE: If an audio source is connected to the AUX input's 3.5 mm stereo connection, the audio signals from the Rear seat entertainment module (RSE)/DVD player to the Integrated Audio Module (IAM) are disconnected.