LEMON Manuals: Even more car manuals for everyone: 1960-2025
Home >> Volvo >> 2011 >> S40 T-5 R-Design >> Repair and Diagnosis (Single Page) >> Electrical >> Charging Systems >> Miscellaneous Electrical Components - Design And Function (544 Body) >> Integrated Audio Module (IAM) (2005-2011) >> Function (2005, 2006) >> Audio Unit
April 5, 2026: LEMON Manuals is launched! Read the announcement.

Audio Unit

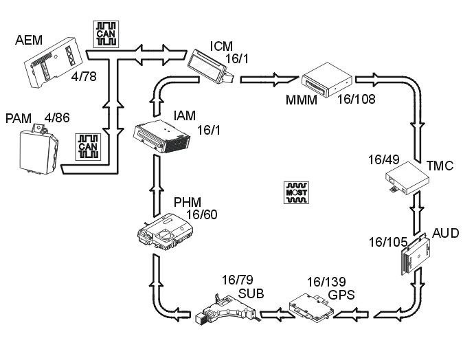
Fig 1: Identifying Control Modules MOST Network
GLL149800Courtesy of VOLVO CARS OF NORTH AMERICA.

The integrated audio module (IAM) functions as a stereo system in the vehicle and is connected to other control modules on the MOST network.

If the accessory electronic module (AEM) is installed, the sound from the integrated audio module (IAM) is muted during telephone calls if a handsfree set (accessory) is used. The sound is also muted when reverse gear is engaged if the vehicle is equipped with the parking assistance system (accessory).

If the vehicle is equipped with the RTI navigation system (option), voice information is heard from the existing speakers.