LEMON Manuals: Even more car manuals for everyone: 1960-2025
Home >> Volvo >> 2011 >> XC60 3.2 R-Design >> Repair and Diagnosis (Single Page) >> Accessories & Equipment >> Communication Devices >> Media, Communication And Navigation - Specifications, Electrical/Electronic >> Signal Specification, Digital Audio Broadcast Module >> Signal Specification, Digital Audio Broadcast Module (DABM) [2013-2017] >> Signal Specification, Digital Audio Broadcast Module (DABM)
April 5, 2026: LEMON Manuals is launched! Read the announcement.

Signal Specification, Digital Audio Broadcast Module (DABM)

GENERAL 

All the values given below are between connections stated in column 1 and connection #A1 in column 2 (power ground). This applies unless otherwise indicated in brackets.

NOTE:

It is important to connect the breakout box and check the ground terminals before taking readings.

U= DC voltage in volts (V) UAC = AC voltage in volts (V)
Ubat = Battery voltage in volts (V) f = Frequency in Hertz (Hz)
Ulow = Voltage approximately 0 V t = Time in seconds (s)
PWM = Pulse width modulated signal in % % duty = Duty cycle (pulse ratio) in percent (%)
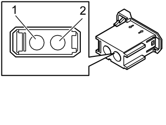
GLL153826Courtesy of VOLVO CARS CORPORATION
CONNECTOR C1

Breakout box connection  Control module terminal  Signal type  Ignition on  Ignition off  Miscellaneous 
#1 #C1-1 30 supply U = Ubat U = Ubat -
#2 #C1-2 ground, 30 supply U=Ulow U=Ulow -
GLL163576Courtesy of VOLVO CARS CORPORATION
CONNECTOR C2

Breakout box connection  Control module terminal  Signal type  Ignition on  Ignition off  Miscellaneous 
- #C2-1 Antenna signal - - Input signal VHF Band 3
- #C2-2 Antenna signal - - Fender
- #C2-3 Antenna signal - - Input signal Band L
- #C2-4 Antenna signal - - Fender
GLL153821Courtesy of VOLVO CARS CORPORATION
CONNECTOR C3

Breakout box connection  Control module terminal  Signal type  Ignition on  Ignition off  Miscellaneous 
- #C3-1 Output signal, MOST - - Optical output signal
- #C3-2 Input signal, MOST - - Optical input signal