LEMON Manuals: Even more car manuals for everyone: 1960-2025
Home >> Volvo >> 2011 >> XC60 3.2 R-Design >> Repair and Diagnosis (Single Page) >> Accessories & Equipment >> Drivers Assistance Systems - ADAS >> Media, Communication And Navigation - Specifications, Electrical/Electronic >> Signal Specification, Accessory Connectivity Unit >> Signal Specification, Accessory Connectivity Unit (ACU) [2011-2015] >> Signal Specification, Accessory Connectivity Unit (ACU)
April 5, 2026: LEMON Manuals is launched! Read the announcement.

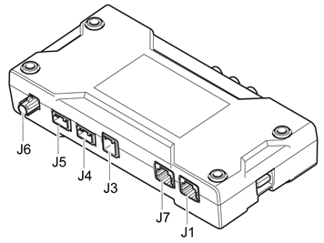
Signal Specification, Accessory Connectivity Unit (ACU)

GLL1040798Courtesy of VOLVO CARS CORPORATION

General 

All the values given below are between the respective connection and ground. If this is not the case, it is indicated in brackets.

NOTE:

It is important to connect the breakout box and check the ground connections before starting to measure.

U= DC voltage in volts (V) UAC = AC voltage in volts (V)
Ubat = Battery voltage in volts (V) f = Frequency in Hertz (Hz)
Ulow = Voltage approximately 0 V t = Time in seconds (s)
PWM = Pulse-width modulation    
GLL1004840Courtesy of VOLVO CARS CORPORATION
CONNECTOR J1 (BLACK)

Breakout box terminal  Control module terminal  Signal type  Ignition on  Miscellaneous 
#51 #J1:1 +30, power supply U = Ubat -
#52 #J1:2 - - -
#53 #J1:3 - - -
#54 #J1:4 LIN U = U bat +/- 5 % -
#55 #J1:5 Ground U = 0 V -
#56 #J1:6 - - -
#57 #J1:7 - - -
#58 #J1:8 - - -
GLL1015501Courtesy of VOLVO CARS CORPORATION
CONNECTOR J3 (GREY)

Breakout box terminal  Control module terminal  Signal type  Ignition on  Miscellaneous 
#31 #J3:1 USB, power supply + U = 5 V Touch panel
#32 #J3:2 USB, data - U=approx. 0.16 V Touch panel
#33 #J3:3 USB, data + U=approx. 3.65 V Touch panel
#34 #J3:4 USB, screen/ground- U = 0 V Touch panel
GLL139873Courtesy of VOLVO CARS CORPORATION
CONNECTOR J6 (BLUE)

Breakout box terminal  Control module terminal  Signal type  Ignition on  Miscellaneous 
#1 #J6:1 GPS, antenna signal U=approx. 5 V -
#2 #J6:2 GPS, screen/ground U = 0 V -
GLL1004840Courtesy of VOLVO CARS CORPORATION
CONNECTOR J7 (BLUE)

Breakout box terminal  Control module terminal  Signal type  Ignition on  Miscellaneous 
#41 #J7:1 Analogue, line output right + UAC = 0.8 V - 3.0 V (measure between #J7:1 and #J7:2) The measurement value corresponds to a selected volume, 25 - 100 %.
#42 #J7:2 Analogue, line output right - UAC = 0.8 V - 3.0 V (measure between #J7:1 and #J7:2) The measurement value corresponds to a selected volume, 25 - 100 %.
#43 #J7:3 - - -
#44 #J7:4 Analogue, microphone screen/ground - U = 0 V -
#45 #J7:5 Analogue, line output left + UAC = 0.8 V - 3.0 V (measure between #J7:5 and #J7:6) The measurement value corresponds to a selected volume, 25 - 100 %.
#46 #J7:6 Analogue, line output left - UAC = 0.8 V - 3.0 V (measure between #J7:5 and #J7:6) The measurement value corresponds to a selected volume, 25 - 100 %.
#47 #J7:7 - - -
#48 #J7:8 Analogue, microphone, signal + U=approx. 4 V -