LEMON Manuals: Even more car manuals for everyone: 1960-2025
Home >> Volvo >> 2011 >> XC60 3.2 R-Design >> Repair and Diagnosis (Single Page) >> Accessories & Equipment >> Drivers Assistance Systems - ADAS >> Media, Communication And Navigation - Specifications, Electrical/Electronic >> Signal Specification, Audio Module >> Signal Specification, Audio Module (AUD), 201346- [2014-2015] >> Signal Specification, Audio Module (AUD)
April 5, 2026: LEMON Manuals is launched! Read the announcement.

Signal Specification, Audio Module (AUD)

GENERAL 

NOTE:

There are several versions of the audio module (AUD) and the version found in a specific vehicle is dependent on model and equipment level. This list does not describe the different versions, only the different functions of the connectors and signals.

U= DC voltage in volts (V) UAC = AC voltage in volts (V)
Ubat = Battery voltage (V) f = Frequency in Hertz (Hz)
Ulow = Voltage approximately 0 V t = Time in seconds (s)
PWM = Pulse width modulated signal in %    
GLL154728Courtesy of VOLVO CARS CORPORATION
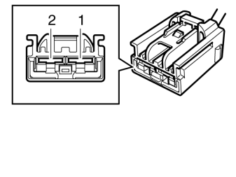
CONNECTOR 2-PIN, BLACK

Breakout box connection  Control module terminal  Signal type  Ignition on  Miscellaneous 
- #1 +30-feed Ubat -
- #2 Ground Ulow -
GLL153821Courtesy of VOLVO CARS CORPORATION
CONNECTOR MOST: 2-PIN, BLACK

Breakout box terminal  Control module terminal  Signal type  Ignition on  Miscellaneous 
- #1 Input signal, MOST - Optical input signal when the MOST network is activated.
- #2 Output signal, MOST - Optical output signal when the MOST network is activated.
GLL154729Courtesy of VOLVO CARS CORPORATION
CONNECTOR 16-PIN, GREEN

Breakout box terminal  Control module terminal  Signal type  Ignition on  Miscellaneous 
- #1 Analog output signal, speaker left front door (-) U = 0 - 19 V Voltage depends on the output power from the control module.
- #2 Analogue output signal, central loudspeaker (-) U = 0 - 11 V Voltage depends on the output power from the control module.
- #3 Analog output signal, speaker right front door (-) U = 0 - 19 V Voltage depends on the output power from the control module.
- #4 Analog output signal, speaker left rear door (-) U = 0 - 19 V Voltage depends on the output power from the control module.
- #5 Analog output signal, speaker right rear door (-) U = 0 - 19 V Voltage depends on the output power from the control module.
- #6 - - -
- #7 - - -
- #8 - - -
- #9 Analog output signal, speaker left front door (+) U = 0 - 19 V Voltage depends on the output power from the control module.
- #10 Analogue output signal, central loudspeaker (+) U = 0 - 11 V Voltage depends on the output power from the control module.
- #11 Analog output signal, speaker right front door (+) U = 0 - 19 V Voltage depends on the output power from the control module.
- #12 Analog output signal, speaker left rear door (+) U = 0 - 19 V Voltage depends on the output power from the control module.
- #13 Analog output signal, speaker right rear door (+) U = 0 - 19 V Voltage depends on the output power from the control module.
- #14 - - -
- #15 - - -
- #16 +30-feed (RDB Logic Feed) Ubat -
GLL1038534Courtesy of VOLVO CARS CORPORATION
CONNECTOR 22-PIN, GREEN (ONLY APPLIES TO VEHICLES EQUIPPED WITH HEADPHONES PANEL)

Breakout box terminal  Terminal Control module  Signal type  Ignition on  Miscellaneous 
- #1 Analogue signal, headphones 1 left (+) - Analogue output signal when the headphones socket is in use.
- #2 Analogue signal, headphones 1 right (+) - Analogue output signal when the headphones socket is in use.
- #3 Analogue signal, headphones 2 left (+) - Analogue output signal when the headphones socket is in use.
- #4 Analogue signal, headphones 2 right (+) - Analogue output signal when the headphones socket is in use.
- #5 - - -
- #6 - - -
- #7 - - -
- #8 - - -
- #9 - - -
- #10 - - -
- #11 - - -
- #12 - - -
- #13 Analogue signal headphones 1 (-) U = Ulow -
- #14 Analogue signal headphones 2 (-) U = Ulow -
- #15 Headphones check 1 and 2 (-) U = Ulow Analogue input signal when forward/back buttons and MODE buttons are used.
- #16 Headphones check 1 (+) U = 5.0 V (no headphones connected)
U = 4.02 V (no button activated)
U = 3.16 V (back button activated)
U = 2.37 V (forward button activated)
U = 0.9 V (MODE button activated)
Analogue input signal when forward/back buttons and MODE buttons are used.
- #17 Headphones check 2 (+) U = 5.0 V (no headphones connected)
U = 4.02 V (no button activated)
U = 3.16 V (back button activated)
U = 2.37 V (forward button activated)
U = 0.9 V (MODE button activated)
Analogue input signal when forward/back buttons and MODE buttons are used.
- #18 - - -
- #19 - - -
- #20 - - -
- #21 - - -
- #22 - - -
GLL1038534Courtesy of VOLVO CARS CORPORATION
CONNECTOR 22-PIN, BLUE (ONLY VEHICLES EQUIPPED WITH ACTIVE NOISE CONTROL (ANC))

Breakout box terminal  Terminal Control module  Signal type  Ignition on  Miscellaneous 
- #1 - - -
- #2 - - -
- #3 Analogue output signal, microphone passenger side/front (+) U = 8 V -
- #4 Analog output signal, microphone rear (-) U = Ulow Ground.
- #5 Analog output signal, microphone driver's side (+) U = 8 V -
- #6 - - -
- #7 - - -
- #8 - - -
- #9 - - -
- #10 - - -
- #11 - - -
- #12 - - -
- #13 Analogue output signal, microphone passenger side/front (-) U = Ulow Ground.
- #14 Analog output signal, microphone rear (+) U = 8 V -
- #15 Analog output signal, microphone driver's side (-) U = Ulow Ground.
- #16 - - -
- #17 - - -
- #18 - - -
- #19 - - -
- #20 - - -
- #21 - - -
- #22 - - -