LEMON Manuals: Even more car manuals for everyone: 1960-2025
Home >> Volvo >> 2011 >> XC60 3.2 R-Design >> Repair and Diagnosis (Single Page) >> Accessories & Equipment >> Entertainment Systems >> Media, Communication And Navigation - Specifications, Electrical/Electronic >> Signal Specification, Infotainment Control Module >> Signal Specification, Infotainment Control Module (ICM), 201046- [2011] >> Signal Specification, Infotainment Control Module (ICM)
April 5, 2026: LEMON Manuals is launched! Read the announcement.

Signal Specification, Infotainment Control Module (ICM)

General 

All the values given below apply between the respective terminal (column 1) and power ground (#5). If this is not the case, it is indicated within brackets.

NOTE:

It is important to connect the breakout box and check the ground connections before starting to measure.

U= DC voltage in volts (V) UAC = AC voltage in volts (V)
Ubat = Battery voltage (V) f = Frequency in Hertz (Hz)
Ulow = Voltage approximately 0 V t = Time in seconds (s)
PWM = Pulse-width modulation    
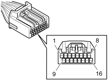
GLL174407Courtesy of VOLVO CARS CORPORATION
CONNECTOR C1

Breakout box terminal  Control module terminal  Signal type  Ignition on  Ignition off  Miscellaneous 
#1 #C1-1 MS CAN L, #2 U = 2.5 - 3.5 V U = Ulow  
#2 #C1-2 MS CAN H, #2 U = 2.5 - 3.5 V U = Ulow Analog input signal
#3 #C1-3 LIN SWS U = 8 V U = Ulow  
#4 #C1-4 - - - Analog input signal
#5 #C1-5 Power ground U = Ulow U = Ulow  
#6 #C1-6 - - -  
#7 #C1-7 - - -  
#8 #C1-8 30 supply U = Ubat U = Ubat  
#9 #C1-9 MS CAN L, #1 U = 2.5 - 3.5 V U = Ulow  
#10 #C1-10 MS CAN H, #1 U = 2.5 - 3.5 V U = Ulow  
#11 #C1-11 -      
#12 #C1-12 -      
#13 #C1-13 Ground, power supply U = Ulow U = Ulow  
#14 #C1-14 - - -  
#15 #C1-15 - - -  
#16 #C1-16 30 supply U = Ubat U = Ubat  
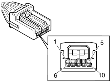
GLL153821Courtesy of VOLVO CARS CORPORATION
CONNECTOR C2

Breakout box terminal  Control module terminal  Signal type  Ignition on  Miscellaneous 
- #C2-1 Input signal, MOST - Optical input signal
- #C2-2 Output signal, MOST - Optical output signal
GLL178682Courtesy of VOLVO CARS CORPORATION
CONNECTOR C3 (BLUE)

Breakout box terminal  Control module terminal  Signal type  Ignition on  Miscellaneous 
- #C3-1 Digital video signal (-) from Integrated Audio Module (IAM). - LVDS
- #C3-2 Digital video signal (+) from Integrated Audio Module (IAM) - LVDS
- #C3-3 Ground, power supply U = Ulow LVDS
GLL139873Courtesy of VOLVO CARS CORPORATION
CONNECTOR C4 (GREEN)

Breakout box terminal  Control module terminal  Signal type  Ignition on  Miscellaneous 
- #C4-1 CVBS, composite video signal from Television Module (TVM) or Rear seat entertainment module (RSE) - -
- #C4-2 Ground and signal screen U = Ulow -
GLL139873Courtesy of VOLVO CARS CORPORATION
CONNECTOR C5 (BROWN)

Breakout box terminal  Control module terminal  Signal type  Ignition on  Miscellaneous 
- #C5-1 CVBS, composite video signal from Parking Assistance Camera (PAC) - -
- #C5-2 Ground and signal screen U = Ulow -
GLL178683Courtesy of VOLVO CARS CORPORATION
CONNECTOR C6

Breakout box terminal  Control module terminal  Signal type  Ignition on  Miscellaneous 
- #C6-1 - - -
- #C6-2 CVBS + composite video signal, from front parking camera - -
- #C6-3 Ground and signal screen U = Ulow -
- #C6-4 CVBS -, composite video signal, from front parking aid camera - -
- #C6-5 - - -
GLL178682Courtesy of VOLVO CARS CORPORATION
CONNECTOR C7 (ONLY FOR 5 INCH SCREENS)

Breakout box terminal  Control module terminal  Signal type  Ignition on  Miscellaneous 
- #C7-1 Power supply - USB
- #C7-2 Data (-) - USB
- #C7-3 Data (+) - USB
- #C7-4 Ground, power supply U = Ulow USB
- #C7-5 Ground - USB