LEMON Manuals: Even more car manuals for everyone: 1960-2025
Home >> Volvo >> 2011 >> XC60 3.2 R-Design >> Repair and Diagnosis (Single Page) >> Heating, Ventilation & A/C (HVAC) >> HVAC Control Systems >> Climate Units - Specifications, Electrical/Electronic >> Component Specification, Climate Control Module >> Component Specification, Climate Control Module (CCM) [2009-2011] >> Passenger Compartment Temperature Sensor 7/41
April 5, 2026: LEMON Manuals is launched! Read the announcement.

Passenger Compartment Temperature Sensor 7/41

GENERAL 

The passenger compartment temperature sensor continually provides the climate control module (CCM) information on passenger compartment temperature. To prevent the sensor from being affected by surround electronics, a fan is used to blow air from the passenger compartment onto the sensor.

GLL153601Courtesy of VOLVO CARS CORPORATION

Type 

Passenger compartment temperature sensor:  Temperature-dependent, NTC resistance (negative temperature coefficient).

Passenger compartment sensor fan:  Electromagnetic motor.

characteristic 

Passenger compartment temperature sensor:  Resistance between terminals #30 and #38 on the breakout box should be approx. 11.99 kΩ at +20 °C. Resistance decreases as temperature increases.

Passenger compartment sensor fan:  The fan is powered by the climate control module (CCM).

Other information 

Passenger compartment temperature sensor: 

Diagnostic trouble code B1A7111 is generated upon short circuit to ground.

Diagnostic trouble code B1A7115 is generated upon short circuit to supply voltage or open circuit.

Passenger compartment sensor fan: 

Diagnostic trouble code B105A11 is generated upon short circuit to ground.

Diagnostic trouble code B105A15 is generated upon short circuit or open circuit.

Diagnostic trouble code B105A71 is generated upon mechanical fault if something fastens in the rotor.

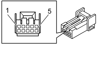
TERMINAL 

GLL153779Courtesy of VOLVO CARS CORPORATION
Breakout box connection  Connector terminal  Control module terminal  Signal type  Miscellaneous 
- #1 - Reserve -
#40 #2 #C1:16 Ground -
#38 #3 #C1:14 Passenger compartment temperature sensor (-) -
#28 #4 #C1:4 Signal, passenger compartment sensor fan -
#30 #5 #C1:6 Passenger compartment temperature sensor (+) -

CHECK 

Prerequisites (unless otherwise specified):

Check 1 

Passenger compartment temperature sensor:

Measure resistance between terminals #30 and #38 on the breakout box. The value should follow the information below:

R = 12.98 kΩ at 18 °C.

R = 12.47 kΩ at 19 °C.

R = 11.99 kΩ at 20 °C.

R = 11.53 kΩ at 21 °C.

R = 11.09 kΩ at 22 °C.

R = 10.67 kΩ at 23 °C.