LEMON Manuals: Even more car manuals for everyone: 1960-2025
Home >> Volvo >> 2011 >> XC60 R-Design, FWD >> Repair and Diagnosis (Single Page) >> Accessories & Equipment >> Drivers Assistance Systems - ADAS >> Media, Communication And Navigation - Specifications, Electrical/Electronic >> Signal Specification, High Level Display Front >> Signal Specification, High Level Display Front (HLDF) [2009-2011] >> Signal Specification
April 5, 2026: LEMON Manuals is launched! Read the announcement.

Signal Specification

General 

All the values given below are between the respective terminal in column 1 and terminal # C2:5 in column 1 (power ground) unless otherwise stated in brackets after the table entry.

NOTE:

It is important to check ground terminals before taking readings.

U= DC voltage in volts (V) UAC = AC voltage in volts (V)
Ubat = Battery voltage (V) f = Frequency in Hertz (Hz)
Ulow = Voltage approximately 0 V t = Time in seconds
PWM = Pulse width modulated signal as a %    
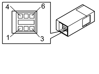
GLL153789Courtesy of VOLVO CARS CORPORATION
GLL153790Courtesy of VOLVO CARS CORPORATION
SIGNAL TABLE, CONNECTOR C1

Control module terminal  Signal type Ignition off Active/Inactive  Ignition on Active/Inactive  Miscellaneous 
#C1:1 Signal ground U low /Ulow U low /Ulow  
#C1:2 RGB sync signal UAC =1.0 V p-p/Ulow UAC =1.0 V p-p/Ulow MMM
#C1:3 Video, signal ground U low /Ulow U low /Ulow MMM
#C1:4 Video, signal B UAC =0.7 V p-p/Ulow UAC =0.7 V p-p/Ulow MMM (C1:3)
#C1:5 Video, signal G UAC =0.7 V p-p/Ulow UAC =0.7 V p-p/Ulow MMM (C1:3)
#C1:6 Video, signal R UAC =0.7 V p-p/Ulow UAC =0.7 V p-p/Ulow MMM (C1:3)
GLL153791Courtesy of VOLVO CARS CORPORATION
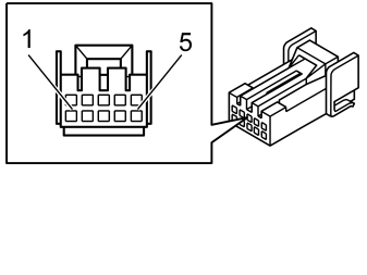
SIGNAL TABLE, CONNECTOR C2

Control module terminal  Signal type Ignition off Active/Inactive  Ignition on Active/Inactive  Miscellaneous 
#C2:1 30-feed Ubat /Ubat Ubat /Ubat  
#C2:2 Communication CAN_H low speed network During communication the voltage is 2.0-3.5 V  
#C2:3 Communication CAN L low speed network During communication the voltage is 1.5-2.5 V  
#C2:4 - - -  
#C2:5 Power ground U low /Ulow U low /Ulow  
GLL153792Courtesy of VOLVO CARS CORPORATION
SIGNAL TABLE, CONNECTOR C3

Control module terminal  Signal type Ignition off Active/Inactive  Ignition on Active/Inactive  Miscellaneous 
#C3:1 Video, input 1 UAC =0.7 V p-p/Ulow UAC =0.7 V p-p/Ulow Input, composite video (C3:2)
#C3:2 Signal ground U low /Ulow U low /Ulow  
GLL153792Courtesy of VOLVO CARS CORPORATION
SIGNAL TABLE, CONNECTOR C4

Control module terminal  Signal type Ignition off Active/Inactive  Ignition on Active/Inactive  Miscellaneous 
#C4:1 Video, input 2 UAC =0.7 V p-p/Ulow UAC =0.7 V p-p/Ulow Input, composite video (C4:2)
#C4:2 Signal ground U low /Ulow U low /Ulow