LEMON Manuals: Even more car manuals for everyone: 1960-2025
Home >> Volvo >> 2011 >> XC60 R-Design, FWD >> Repair and Diagnosis (Single Page) >> Heating, Ventilation & A/C (HVAC) >> HVAC Control Systems >> Climate Units - Design And Function >> Climate Control Module >> Climate Control Module (CCM) [2016] >> Function >> Rear Seat Functions (Certain Versions Only)
April 5, 2026: LEMON Manuals is launched! Read the announcement.

Rear Seat Functions (Certain Versions Only)

GLL1027418Courtesy of VOLVO CARS CORPORATION

The control panel is located between the rear seats and contains switches for the following functions:

The functions that have three active positions are activated at high speed respectively maximum heat at the first button press. Then the level drops to medium, low and off, at a respective two and three further button presses. An indicator on the switch shows the level that is currently active where three indicators is the highest.

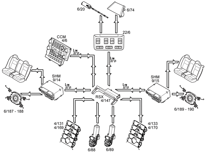
When the switch for backrest tilt rear is activated, a signal is sent to the rear seat functions module (RSX) which powers the electric motor that performs backrest tilt. Backrest tilt rear is controlled by an electric motor that also has a hall sensor that keeps track of the incline position. Backrest tilt rear can be set through 9 degrees. Backrest tilt is automatically calibrated by operating the seats to their end positions. If an object obstructs backrest tilt before it reaches its end position, calibration can be incorrect and backrest tilt can get stuck in one position. If so, a recalibration has to be performed. The calibration can be erased by turning off the ignition with the switch depressed. The function automatically calibrates the next time the electric motor is operated to the end positions.

Sun curtain, rear window is directly connected to control panel rear seat functions and powered via the function's switch in the control panel. The sun curtain is operated by the switch with the same logic as the side windows where a quick button press controls the sun curtain to the limit positions and a longer press cancels the sun curtain movement when the switch is released.

When the switch for length adjustment of the passenger seat is switched on, the electric motor for length adjustment is powered directly from the switch in the control panel.

When the switch for the massage function rear is activated, a LIN signal is sent to the RSX, which activates the massage unit. The massage unit powers the massage pump that provides the massage unit with air, which is distributed via air hoses to the air bag unit's various air bags according to a massage program. The massage unit has a cycle of ten minutes. Active six minutes and then inactive four minutes.

When the switch for seat ventilation rear is activated, a LIN signal is sent to the RSX. The RSX forwards this LIN signal to the Climate control module (CCM). The CCM then sends a LIN signal to the seat heater module (SHM) ventilation, which powers the parallel connected fans via a PWM signal. At seat ventilation in the highest position, the fans are activated at full speed. At medium and low positions the fans are climate controlled.

When the switch for seat heating rear is activated, a LIN signal is sent to the RSX. The RSX forwards this LIN signal to the Climate control module (CCM). The CCM then sends a LIN signal to the seat heater module (SHM), which powers the series connected heating elements via a PWM signal. There is also a temperature sensor in the seat that is used to regulate heating.