LEMON Manuals: Even more car manuals for everyone: 1960-2025
Home >> Volvo >> 2012 >> XC90 Base, FWD >> Repair and Diagnosis (Single Page) >> Accessories & Equipment >> Entertainment Systems >> Control Modules - Signal Specifications >> Signal Description, Multimedia Module (Mmm) (2007-2014) >> Signal Specification
April 5, 2026: LEMON Manuals is launched! Read the announcement.

Signal Specification

All the values given below are between the respective terminal in column 1 and terminal #A5 in column 2 (power ground) unless otherwise stated in brackets after the table entry.

NOTE: It is important to connect the breakout box and check the ground terminals before taking readings.
U= DC voltage in volts (V) Ulow = Voltage approximately 0 V
Ubat = Battery voltage (V) - -
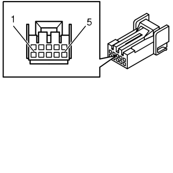
Fig 1: Identifying 10-Bit Connector
GLL104032Courtesy of VOLVO CARS CORPORATION
CONNECTOR A

Control module terminal  Signal type  Ignition on  Other 
#A1 30-feed U = Ubat Power supply
#A2 - - -
#A3 - - -
#A4 - - -
#A5 Ground U=Ulow -
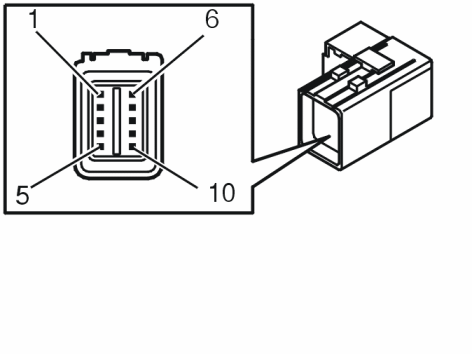
Fig 2: Identifying 10-Bit Connector
GLL106210Courtesy of VOLVO CARS CORPORATION
CONNECTOR B

Breakout box terminal  Control module terminal  Signal type  Ignition on  Other 
#1 #B1 Color signal (red), screen Analogue signal when a red color signal is used 0.714 Vp-p
#2 #B2 Colour signal (green), display Analogue signal when a green color signal is used 0.714 Vp-p
#3 #B3 - - -
#4 #B4 Remote control, signal from display screen to Multimedia module (MMM) - -
#5 #B5 - - -
#6 #B6 Color signal (blue), screen Analogue signal when a green colour signal is used 0.714 Vp-p
#7 #B7 Screen ground video signals Ulow -
#8 #B8 RGB-synch, display screen Analogue signal 0-5 V
#9 #B9 - - -
#10 #B10 Video signal, display screen Analogue signal 1 Vp-p ± 0.2V
H - Screen ground - -
Fig 3: Identifying Connector C
GLL108086Courtesy of VOLVO CARS CORPORATION
CONNECTOR C

Control module terminal  Signal type  Ignition on  Other 
#C1 MOST input signal - Optical input signal
#C2 MOST output signal - Optical output signal
Fig 4: Identifying 2-Bit Connector
GLL139876Courtesy of VOLVO CARS CORPORATION
CONNECTOR D

Control module terminal  Signal type  Ignition on  Other 
#D1 GPS signal - Antenna signal
#D2 Screen - -
Fig 5: Identifying 2-Bit Connector
GLL157135Courtesy of VOLVO CARS CORPORATION
CONNECTOR E

Control module terminal  Signal type  Ignition on  Other 
#E1 FM signal in (TMC) - Antenna signal
#E2 FM signal out (TMC) - Antenna signal