LEMON Manuals: Even more car manuals for everyone: 1960-2025
Home >> Volvo >> 2012 >> XC90 Base, FWD >> Repair and Diagnosis (Single Page) >> Accessories & Equipment >> Entertainment Systems >> Control Modules - Signal Specifications >> Signal Specification, Phone Module (PHM) (2003-04) >> Signal Specification >> Connector C, Phone Module (PHM)
April 5, 2026: LEMON Manuals is launched! Read the announcement.

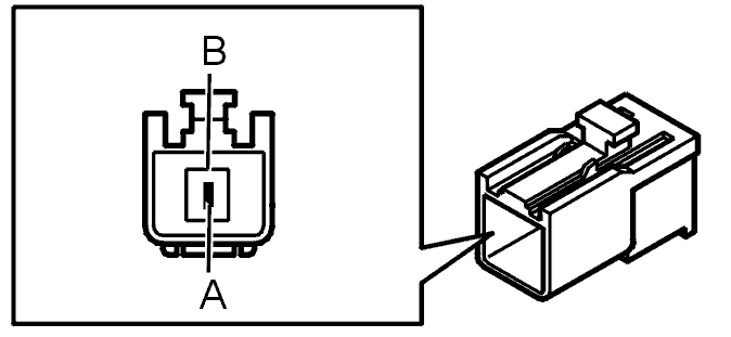
Connector C, Phone Module (PHM)

Fig 1: Connector F, Carphone Antenna (Brown Connector), Single Hirose GT5
GLL106113Courtesy of VOLVO CARS CORPORATION
Control module terminal  Breakout box terminal  Signal type  Ignition on  Other 
A - Antenna Antenna signal carphone -
B - GND (shield) Shield ground antenna signal -