LEMON Manuals: Even more car manuals for everyone: 1960-2025
Home >> Volvo >> 2012 >> XC90 Base, FWD >> Repair and Diagnosis (Single Page) >> Accessories & Equipment >> Entertainment Systems >> Control Modules - Signal Specifications >> Signal Specification, Subwoofer Module (Sub) (2003-08) >> Signal Specification
April 5, 2026: LEMON Manuals is launched! Read the announcement.

Signal Specification

NOTE: It is important to connect the breakout box and check the ground terminals before taking readings.
U= DC voltage in volts (V) Ulow = Voltage approximately 0 V
Ubat = Battery voltage (V) - -
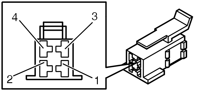
Fig 1: Identifying Connector A, Subwoofer Module (Sub)
GLL101918Courtesy of VOLVO CARS CORPORATION
CONNECTOR A, SUBWOOFER MODULE (SUB)

Terminal  Breakout box terminal  Signal type  Ignition on  Other 
#A1 #51 Ground U=Ulow -
#A2 #52 - - -
#A3 #53 15 supply U = Ubat -
#A4 #54 - - -
Fig 2: Identifying Connector C
GLL108086Courtesy of VOLVO CARS CORPORATION
CONNECTOR B, AUDIO MODULE (AUD)

Terminal  Breakout box terminal  Signal type  Ignition on  Other 
#B1 - MOST input signal Optical input signal when the MOST network is activated -
#B2 - MOST output signal Analog output signal when the loudspeaker is in use -