LEMON Manuals: Even more car manuals for everyone: 1960-2025
Home >> Volvo >> 2012 >> XC90 Base, FWD >> Repair and Diagnosis (Single Page) >> Brakes >> Traction Control >> Control Modules - Signal Specification For Diagnostic Procedures >> Fault-Tracing >> Signal Specification, Keypad Unit / CARPHONE Module (PHM) >> Connecting The Breakout Box And Checking The Ground Terminal >> Handset (For Keypad Unit / CARPHONE Module (PHM))
April 5, 2026: LEMON Manuals is launched! Read the announcement.

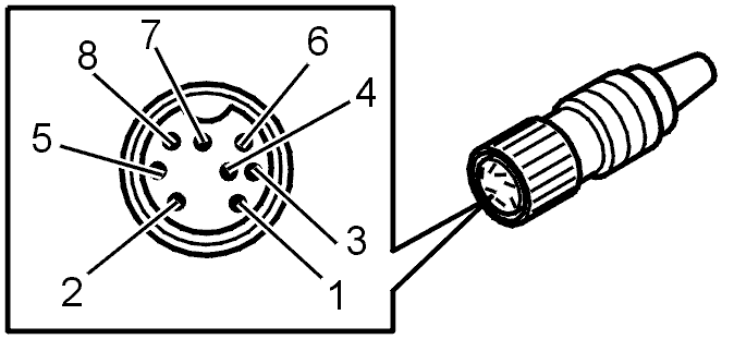
Handset (For Keypad Unit / CARPHONE Module (PHM))

Fig 1: Connector D, Handset Connector
GLL104156Courtesy of VOLVO CARS CORPORATION

Before measuring, read, see CONNECTING THE BREAKOUT BOX AND CHECKING THE GROUND TERMINAL .

Stepper unit terminal  Breakout box terminal  Signal type  Ignition on  Other 
E1 #32 - - -
E2 #33 - - -
E3 #34 Handset microphone signal Alternating current when there is sound from the handset microphone -
E4 #35 Handset speaker signal Alternating current when there is sound in the handset loudspeaker -
E5 #36 Ground Ulow -
E6 #37 Signal, handset on cradle U = 8V -
E7 #38 Handset power supply Ubat -
E8 #39 - - -