LEMON Manuals: Even more car manuals for everyone: 1960-2025
Home >> Volvo >> 2012 >> XC90 Base, FWD >> Repair and Diagnosis (Single Page) >> Electrical >> Body Electrical >> Control Modules - Signal Specification For Diagnostic Procedures >> Fault-Tracing >> Signal Specification, RTI >> Connecting The Breakout Box And Checking The Ground Terminal >> RTI Control Module (To Cd-ROM Changer)
April 5, 2026: LEMON Manuals is launched! Read the announcement.

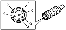
RTI Control Module (To Cd-ROM Changer)

Fig 1: Audio Control Module (Cable Between Audio Module & Amplifier)
GLL104157Courtesy of VOLVO CARS CORPORATION

Before taking any readings, see CONNECTING THE BREAKOUT BOX AND CHECKING THE GROUND TERMINAL .

The RTI control module terminals D1-D6 correspond to terminals #42-#47 on the breakout box.

Control module terminal  Breakout box terminal Signal type  Ignition on  Other 
D1 #42 Clock signal from CD-ROM changer Digital signal Melbus protocol
D2 #43 Data signal from the CD ROM changer Digital signal Melbus protocol
D3 #44 - - -
D4 #45 Busy signal from CD-ROM changer Digital signal Melbus protocol
D5 #46 15 supply Ubat -
D6 #47 - - -
H   Screen ground, cable to the CD-ROM changer Ulow -