LEMON Manuals: Even more car manuals for everyone: 1960-2025
Home >> Volvo >> 2012 >> XC90 Base, FWD >> Repair and Diagnosis (Single Page) >> Engine Performance >> System >> Engine Control Module (ECM) Diagnostic Trouble Codes - 7 Of 13 >> ECM-929D: Engine Control Module (ECM). Signal Too Low (B5254T2; 2005-2007) >> Signal Too Low >> Fault-Tracing Information >> Checking Components And Wiring
April 5, 2026: LEMON Manuals is launched! Read the announcement.

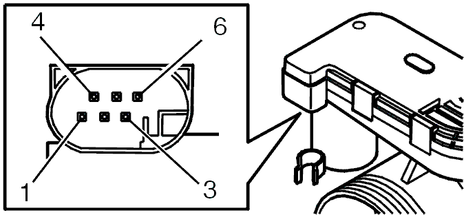
Checking Components And Wiring

Fig 1: Identifying Ignition OFF
GLL101045Courtesy of VOLVO CARS CORPORATION