LEMON Manuals: Even more car manuals for everyone: 1960-2025
Home >> Volvo >> 2012 >> XC90 R-Design, FWD >> Repair and Diagnosis >> Engine Performance >> System >> Electronic Modules - Design And Function >> Climate Control Module (2003-2004) >> Function >> Heated Rear Windshield And Door Mirrors
April 5, 2026: LEMON Manuals is launched! Read the announcement.

Heated Rear Windshield And Door Mirrors

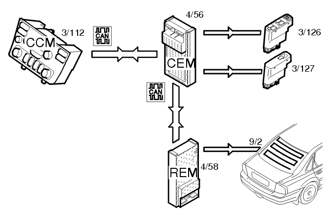
Fig 1: Heated Rear Windshield And Door Mirrors Input And Output Signals
GLL107519Courtesy of VOLVO CARS CORPORATION

The heated rear windshield and door mirrors are activated by pressing the switch on the climate control module (CCM) (3/112). The climate control module (CCM) transmits information to the central electronic module (CEM) (4/56) about the selected heating status. The central electronic module (CEM) transmits a signal to the driver's door module (3/126) and passenger door module (PDM) (3/127) for the heated door mirrors and to the rear electronic module (REM) (4/58) for the heated rear windshield.

The central electronic module (CEM) also transmits information to the climate control module (CCM) about whether the seat heaters are activated or not. The climate control module (CCM) uses this information to light / turn off the LED on the button.