LEMON Manuals: Even more car manuals for everyone: 1960-2025
Home >> Volvo >> 2017 >> V60 T5 Dynamic, AWD >> Repair and Diagnosis (Single Page) >> Accessories & Equipment >> Anti-Theft Systems >> Doors And Lids - Design And Function >> Standard Central Locking System >> Standard Central Locking System [2014-2018] >> Function >> Automatic Re-Locking After Unlocking
April 5, 2026: LEMON Manuals is launched! Read the announcement.

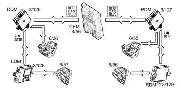
Automatic Re-Locking After Unlocking

GLL174381Courtesy of VOLVO CARS CORPORATION

If the car is unlocked using the remote control key and the side doors or tailgate/trunk lid are not opened within 2 minutes, the vehicle will be relocked automatically.