LEMON Manuals: Even more car manuals for everyone: 1960-2025
Home >> Volvo >> 2017 >> V60 T5 Dynamic, AWD >> Repair and Diagnosis (Single Page) >> Accessories & Equipment >> Drivers Assistance Systems - ADAS >> Media, Communication And Navigation - Design And Function >> Infotainment System SENSUS - Vehicles With Structure Week -201345 >> Infotainment System SENSUS - Vehicles With Structure Week -201345 [2014-2015] >> System Overview >> Performance Sound
April 5, 2026: LEMON Manuals is launched! Read the announcement.

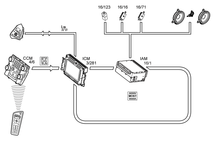
Performance Sound

GLL1001881Courtesy of VOLVO CARS CORPORATION

Infotainment package Performance Sound includes Infotainment Control Module (ICM) (3/281) with 5" screen, Integrated Audio Module (IAM) (16/1), Climate Control Module (CCM) (4/6) and Steering Wheel Button Right (SWSR) (via Steering Wheel Module (SWM) (3/130).

Possible option: