LEMON Manuals: Even more car manuals for everyone: 1960-2025
Home >> Acura >> 1994 >> Integra (GS-R) L4-1797cc 1.8L DOHC (VTEC) >> Repair and Diagnosis >> Specifications >> Electrical Specifications >> Main Relay (Computer/Fuel System)
April 5, 2026: LEMON Manuals is launched! Read the announcement.

Main Relay (Computer/Fuel System)

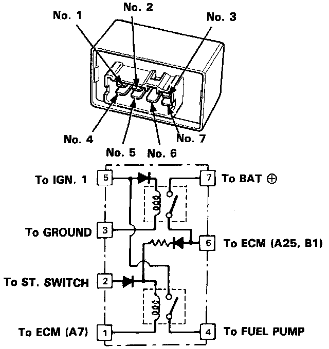
PGM-FI Main Relay Schematic View:






FUEL PUMP MAIN RELAY

Continuity Between No. 6 terminal and No. 7 terminal when,
a. Battery positive (+) voltage applied to No. 5 terminal
b. Battery negative (-) voltage applied to No. 3 terminal

Continuity Between No. 4 terminal and No. 5 terminal, when,
a. Battery positive (+) voltage applied to No. 6 terminal
b. Battery negative (-) voltage applied to No. 1 terminal