LEMON Manuals: Even more car manuals for everyone: 1960-2025
Home >> Acura >> 1995 >> NSX Automatic >> Repair and Diagnosis >> Engine Performance >> System >> Engine Controls - System & Component Testing >> Idle Control Systems >> Starter Switch Signal
April 5, 2026: LEMON Manuals is launched! Read the announcement.

Starter Switch Signal

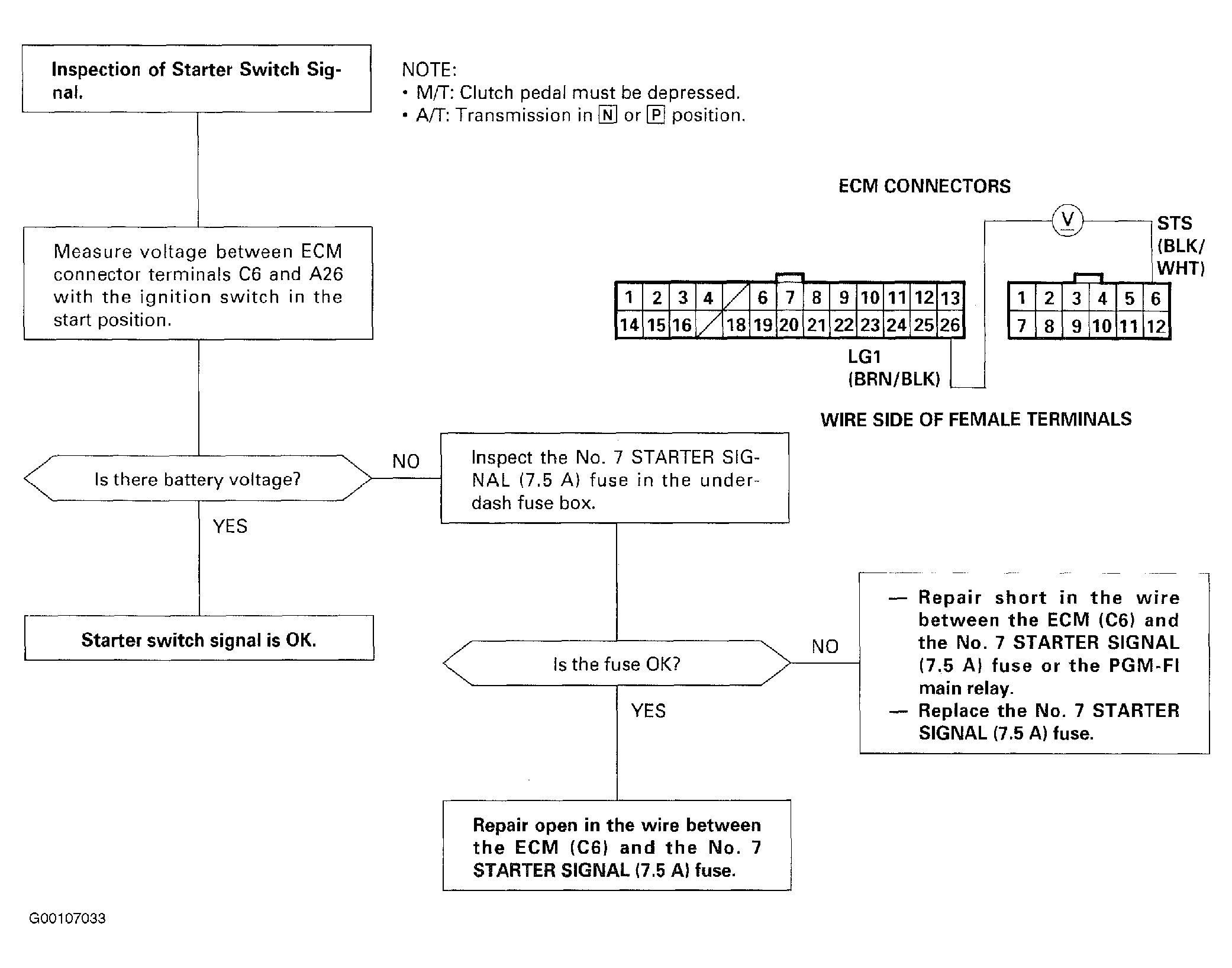
This signals the ECM when the engine is cranking. For troubleshooting of the starter switch signal circuit, see Fig 1 .

Fig 1: Starter Switch Signal Diagnostic Flow Chart
G00107033Courtesy of AMERICAN HONDA MOTOR CO., INC.