LEMON Manuals: Even more car manuals for everyone: 1960-2025
Home >> Acura >> 2001 >> 3.2CL Base >> Repair and Diagnosis >> External Pages >> Different car >> Section 35 (Automatic A/C Systems) >> Climate Control Unit Bulb Replacement >> With Navigation System
April 5, 2026: LEMON Manuals is launched! Read the announcement.

With Navigation System

WARNING: This page is about a different car, the 2003 Acura 3.2CL and 2002 Acura 3.2CL. However, it is still accessible from the selected car via links, so may be relevant.
  1. Discharge the static electricity (which accumulated on you when you removed the climate control unit) by touching the door striker or other body parts.
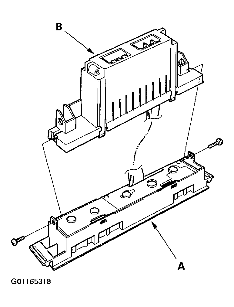
  2. Remove the self-tapping screws, then carefully separate the climate control unit display (A) and control unit (B). Do not kink or pull on the wires between the display and the control unit. Do not touch the electronic components on the printed circuit board in the control unit.
    Fig 1: Separating The Climate Control Unit Display And Control Unit
    G01165318Courtesy of AMERICAN HONDA MOTOR CO., INC.
  3. Remove the bulb(s) with a flat-tip screwdriver.
    Fig 2: Removing The Bulbs
    G01165319Courtesy of AMERICAN HONDA MOTOR CO., INC.
  4. Install the bulb in the reverse order of removal.