LEMON Manuals: Even more car manuals for everyone: 1960-2025
Home >> Acura >> 2002 >> 3.2CL Base >> Repair and Diagnosis >> Engine Mechanical >> Starters >> Bench Testing >> Brushes & Spring Test
April 5, 2026: LEMON Manuals is launched! Read the announcement.

Brushes & Spring Test

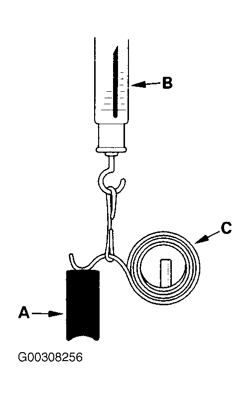
Insert the brush (A) into the brush holder, and bring the brush into contact with the commutator, attach a spring scale (B) to the spring (C). Measure the spring tension at the moment the spring lifts off the brush. See Fig 1 . If the spring tension is not within specification, replace the spring. See STARTER SPECIFICATIONS  .

Fig 1: Measuring Brush Spring Tension
G00308256Courtesy of AMERICAN HONDA MOTOR CO., INC.