LEMON Manuals: Even more car manuals for everyone: 1960-2025
Home >> Acura >> 2002 >> 3.2CL Base >> Repair and Diagnosis >> Engine Performance >> Engine Control Systems >> Engine Mount Control System >> Troubleshooting >> M/T:
April 5, 2026: LEMON Manuals is launched! Read the announcement.

Engine Mount Control System: Troubleshooting: M/T:

Special Tools Required 

Vacuum pump/gauge, 0-30 in.Hg A973X-041-XXXXX

NOTE:
  • Check the vacuum hoses and lines for damage and proper connections before troubleshooting.
  • Before performing engine mount control system troubleshooting, check for damage to the suspension, subframe, body, or exhaust.

Follow this procedure if the engine vibrates excessively when idling.

  1. Warm up the engine to normal operating temperature (the cooling fan comes on twice).

    Is the idle speed less than 760 rpm? 

    1. YES  -Go to step 2.
    2. NO  -Adjust the idle speed (see IDLE SPEED & MIXTURE ).
  2. Disconnect the engine mount control solenoid valve 2P connector from the engine mount control solenoid valve.
  3. Measure voltage between the No.2 terminal and body ground.
    Fig 1: Measuring Voltage Between The No.2 Terminal And Body Ground
    G01897496Courtesy of AMERICAN HONDA MOTOR CO., INC.

    Is there battery voltage? 

    1. YES  -Go to step 4.
    2. NO  -Repair open in the wire between engine mount control solenoid valve and No.6 (15A) fuse in the driver's under-dash fuse/relay box.
  4. Measure voltage between the No. 1 terminal and No. 2 terminal.
    Fig 2: Measuring Voltage Between The No. 1 Terminal And No. 2 Terminal
    G01897497Courtesy of AMERICAN HONDA MOTOR CO., INC.

    Is there battery voltage? 

    1. YES  -Go to step 5.
    2. NO  -Repair open in the wire between engine control module (ECM) (E24) and the engine mount control solenoid valve 2P connector. If the wire is OK, substitute a known-good ECM and recheck.
  5. Raise the engine speed above 1,000 rpm.
  6. Measure voltage between the engine mount control solenoid valve 2P connector No.1 terminal and No.2 terminal.
    Fig 3: Measuring Voltage Between The Engine Mount Control Solenoid Valve 2P Connector No.1 Terminal And No.2 Terminal
    G01897498Courtesy of AMERICAN HONDA MOTOR CO., INC.

    Is there battery voltage? 

    1. YES  -Repair short to body ground in the wire between ECM (E24) and the engine mount control solenoid valve. If the wire is OK, substitute a known-good ECM and recheck.
    2. NO  -Go to step 7.
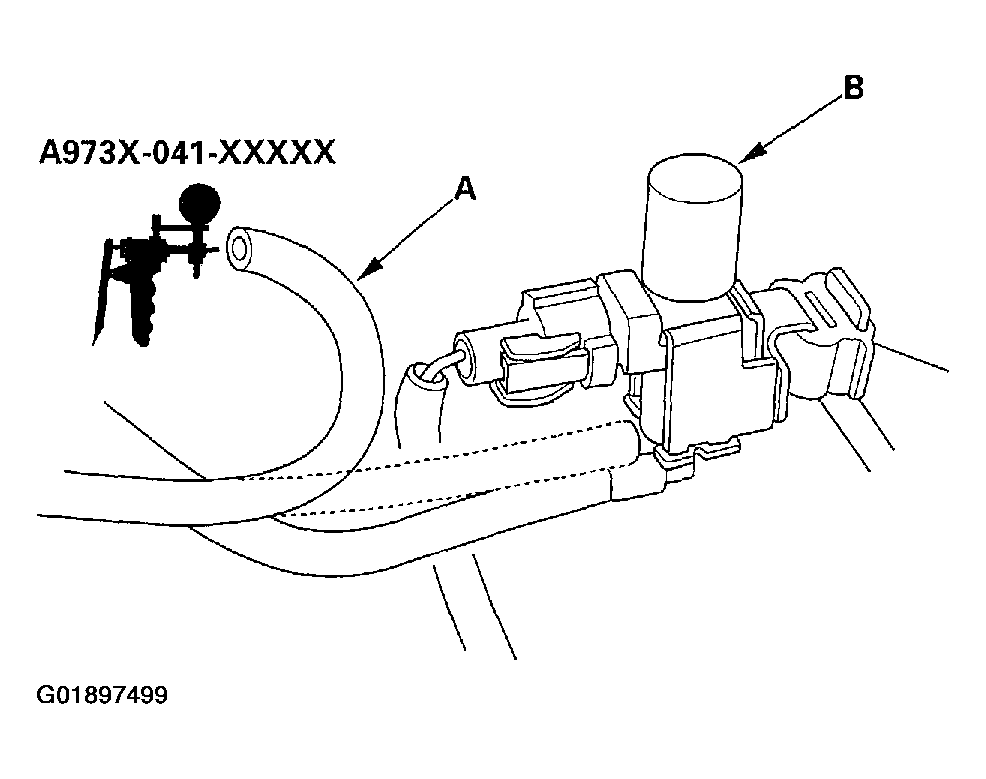
  7. Disconnect the upper vacuum hose (A) from the engine mount control solenoid valve (B), and connect a vacuum pump/gauge to the hose. Apply vacuum for 20 seconds.
    Fig 4: Disconnecting The Upper Vacuum Hose From The Engine Mount Control Solenoid Valve
    G01897499Courtesy of AMERICAN HONDA MOTOR CO., INC.

    Does the engine mount hold vacuum? 

    1. YES  -Go to step 8.
    2. NO  -Either the vacuum hose or front engine mount has a vacuum leak. Repair as needed.
  8. Release the vacuum, then apply vacuum again.

    Is there a noticeable change in idle smoothness with and without vacuum applied? 

    1. YES  -Go to step 9.
    2. NO  -Replace the front engine mount.
  9. Disconnect the upper vacuum hose (A) from the engine mount control solenoid valve (B) and connect a vacuum pump/gauge to a hose connected to the engine mount control solenoid valve.
    Fig 5: Disconnecting The Upper Vacuum Hose From The Engine Mount Control Solenoid Valve
    G01897500Courtesy of AMERICAN HONDA MOTOR CO., INC.

    Is there manifold vacuum at idle, and a decrease in manifold vacuum when you raise the engine speed above 1,000 rpm? 

    1. YES  -Replace the engine mount control solenoid valve.
    2. NO  -A hose is restricted or pinched or the intake manifold port is plugged.