LEMON Manuals: Even more car manuals for everyone: 1960-2025
Home >> Acura >> 2002 >> 3.2CL Base >> Repair and Diagnosis >> Transmission >> Automatic Trans >> Shift Interlock Systems >> System Tests >> Reverse Lock System
April 5, 2026: LEMON Manuals is launched! Read the announcement.

Reverse Lock System

  1. Check whether the scan tool indicates DTCs P1705 or P1706. Does the scan tool indicate either DTC? If yes, diagnose and repair indicated DTCs. See SELF-DIAGNOSTIC SYSTEM in B7VA, B7WA & MGFA DIAGNOSIS article. If no, go to next step.
  2. Turn the ignition off.
  3. Shift the gearshift lever into the "P" position while pushing the shift lock release button. See Fig 1.
  4. Turn the ignition on.
  5. Press the brake pedal, and do not press the accelerator pedal.
  6. Shift the gearshift lever out of the "P" position to check that the shift lock solenoid operates. Does the gearshift lever shift out of the "P" position? If yes, go to next step. If no, see SHIFT INTERLOCK SYSTEM .
  7. Turn the ignition off.
  8. Remove the shift lock relay. See Fig 2.
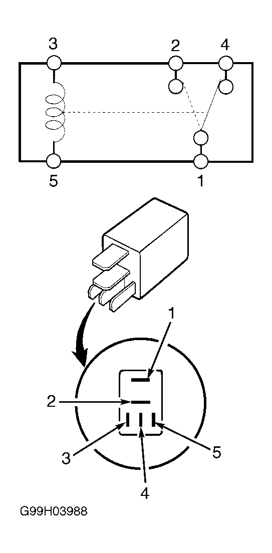
  9. Check for continuity between the No. 1 and 4 terminals of the shift lock relay while connecting the battery positive terminal to the No. 5 terminal of the shift lock relay and connecting the negative terminal to the No. 3 terminal. See Fig 3. Is there no continuity when connecting the battery terminals, and continuity when disconnecting the battery terminals. If yes, go to next step. If no, replace the shift lock relay.
  10. Shift the gearshift lever into the "N" position.
  11. Check the continuity between the No. 4 terminal of the shift lock relay socket and body ground. Is there continuity? If yes, go to next step. If no, repair open in the wire between the No. 4 terminal of the shift lock relay and the transmission range switch. See WIRING DIAGRAMS .
  12. Shift the gearshift lever out of the "N" position.
  13. Check for continuity between the No. 4 terminal of the shift lock relay socket and body ground. Is there continuity? If yes, repair short to ground in the wire between the No. 4 terminal of the shift lock relay and the transmission range switch. If no, go to next step.
  14. Check for continuity between the No. 1 terminal (White/Red wire) of the shift lock relay socket and the No. 2 terminal (Green/Yellow wire) of the shift lock solenoid connector. See Figure and Fig 3 . Is there continuity? If yes, check for loose terminal fit in the connectors. Repair the reverse lock mechanism. If no, repair open in the wire between the No. 1 terminal of the shift lock relay and the shift lock solenoid connector.
Fig 1: Depressing Shift Lock Release Button
G00153639Courtesy of AMERICAN HONDA MOTOR CO., INC.
Fig 2: Locating Underhood Relays
G00027908Courtesy of AMERICAN HONDA MOTOR CO., INC.
Fig 3: Shift Lock Relay Schematic
G99H03988Courtesy of AMERICAN HONDA MOTOR CO., INC.