LEMON Manuals: Even more car manuals for everyone: 1960-2025
Home >> Acura >> 2003 >> 3.2CL Base >> Repair and Diagnosis >> Accessories & Equipment >> Infotainment >> Navigation Systems >> Navigation Unit Removal/Installation
April 5, 2026: LEMON Manuals is launched! Read the announcement.

Navigation Unit Removal/Installation

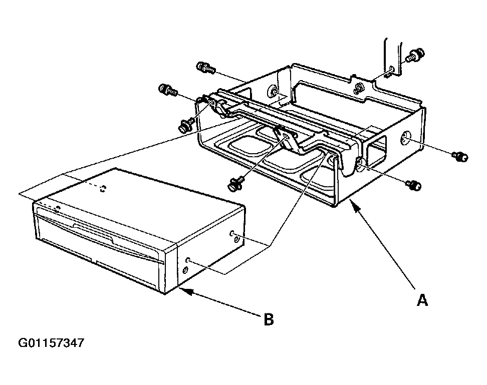
  1. Remove the navigation unit bracket (A) from the trunk.
    Fig 1: Removing The Navigation Unit Bracket ('00 Model Shown)
    G01157347Courtesy of AMERICAN HONDA MOTOR CO., INC.
  2. Remove the navigation unit (B) from the bracket.
  3. Install the parts in the reverse order of removal.