LEMON Manuals: Even more car manuals for everyone: 1960-2025
Home >> Acura >> 2003 >> 3.2CL Base >> Repair and Diagnosis >> Accessories & Equipment >> Infotainment >> Navigation Systems >> System Description >> Overview
April 5, 2026: LEMON Manuals is launched! Read the announcement.

System Description: Overview

The Acura Navigation System is a highly-sophisticated; hybrid locating system that uses satellites and a map database to show you where you are and to help guide you to a desired destination.

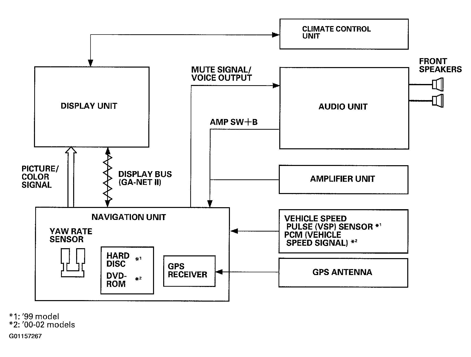
The navigation system receives signals from the Global Positioning System (GPS), a network of 24 satellites in orbit around the earth. By receiving signals from serveral of these satellites, the Navigation System can determine the latitude and longitude of the vehicle. In addition, signals from the system's yaw rate sensor, the vehicle speed pulse (VSP) sensor 1 or PCM (vehicle speed signal) 2 enable the system to keep track of the vehicle's direction and speed of travel.

This hybrid system has advantages over a system that is either entirely self-contained or one that relies totally on the GPS. For example, the self-contained portion of the system can keep track of vehicle position even when satellite signals cannot be received, and the GPS can keep track of the vehicle position even when the vehicle is transported by ferry.

The navigation system applies all this location, direction, and speed information to the maps and calculates a route to the destination entered. As you drive to that destination, the system provides both visual and audio guidance.

Fig 1: Navigation System Diagram ('99-02 Models)
G01157267Courtesy of AMERICAN HONDA MOTOR CO., INC.
Fig 2: Navigation System Diagram ('03 Model)
G01157268Courtesy of AMERICAN HONDA MOTOR CO., INC.