LEMON Manuals: Even more car manuals for everyone: 1960-2025
Home >> Acura >> 2003 >> 3.2CL V6-3.2L SOHC >> Repair and Diagnosis >> Specifications >> Mechanical Specifications >> Engine >> System Specifications >> Bolt Sequence
April 5, 2026: LEMON Manuals is launched! Read the announcement.

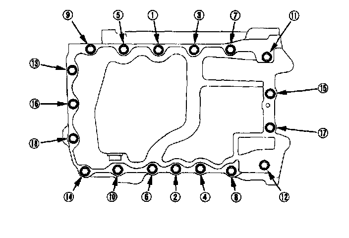
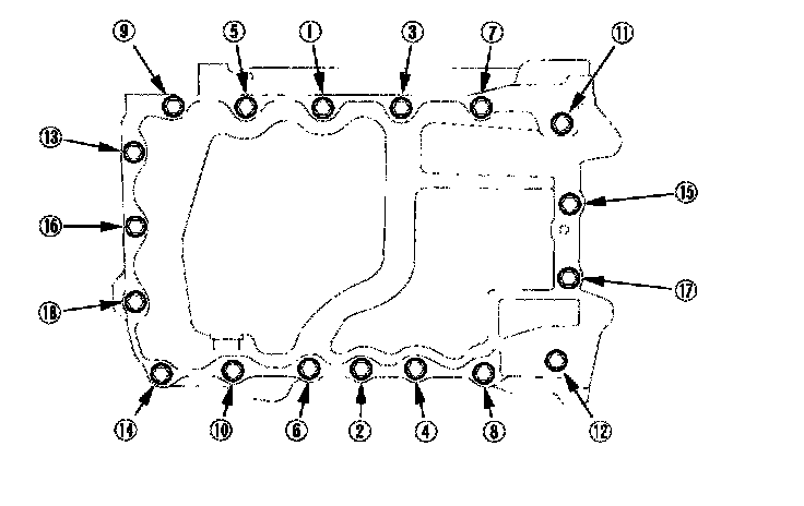
Bolt Sequence

Camshaft/Rocker Arms:



Cylinder Head Bolts:



Intake Manifold:



Upper Cover Bolts:



Crankshaft and Piston:



Oil Pump: