LEMON Manuals: Even more car manuals for everyone: 1960-2025
Home >> Acura >> 2003 >> MDX Base >> Repair and Diagnosis >> Steering >> Power Steering >> Power Steering System >> Steering Gearbox Overhaul >> Exploded View >> Reassembly
April 5, 2026: LEMON Manuals is launched! Read the announcement.

Exploded View: Reassembly

  1. 34. Apply vinyl tape (A) to the stepped portion of the pinion shaft, and coat the surface of the vinyl tape with power steering fluid.
    Fig 1: Applying Vinyl Tape To Stepped Portion Of Pinion Shaft
    G03641122Courtesy of AMERICAN HONDA MOTOR CO., INC.
  2. 35. Install the wave washer (B).
  3. 36. Coat the inside surface of the new valve oil seal (C) with power steering fluid, and install the seal with its grooved side facing opposite the bearing, then slide it over the pinion shaft, being careful not to damage its sealing lip (D).
  4. 37. Apply vinyl tape (A) to the splines and stepped portion of the shaft, and coat the surface of the vinyl tape with power steering fluid.
    Fig 2: Coating Surface Of Vinyl Tape With Power Steering Fluid
    G03641123Courtesy of AMERICAN HONDA MOTOR CO., INC.
  5. 38. Fit the new O-ring (B) in the groove of the pinion shaft. Then slide the new valve seal ring (C) over the shaft and in the groove on the pinion shaft.
  6. 39. Remove the tape, and apply power steering fluid to the surface of the valve seal ring (A).
    Fig 3: Identifying Valve Seal Ring
    G03641124Courtesy of AMERICAN HONDA MOTOR CO., INC.
  7. 40. Apply power steering fluid to the inside of the special tool. Set the larger diameter end of the special tool over the valve seal ring, and move the special tool up and down several times to make the valve seal ring fit in the pinion shaft groove.
  8. 41. Remove the special tool, turn it over, slide the smaller diameter end over the valve seal ring. Move it up and down several times to make the valve seal ring fits snugly in the pinion shaft groove.
  9. 42. Apply power steering fluid to the surface of the special tool. Slip two new seal rings (A) over the special tool from the smaller diameter end, and expand them. Install only two rings at a time from each end of the pinion shaft sleeve (B).

    Note these items when installing the seal ring:

    • Do not over-expand the seal ring. Install the resin seal rings with care so as not to damage them. After installation, make sure you contract the seal rings using the special tool (sizing tool).
    • There are two types of sleeve seal rings: black and brown. Do not mix the different types of rings as they are not compatible.
      Fig 4: Applying Power Steering Fluid To Surface Of Special Tool
      G03641125Courtesy of AMERICAN HONDA MOTOR CO., INC.
  10. 43. Align the special tool with each groove in the sleeve, and slide a sleeve seal ring into each groove. After installation, compress the seal rings with your fingers temporarily.
  11. 44. Apply power steering fluid to the seal rings on the sleeve, and to the entire inside surface of the special tool, then slowly insert the sleeve into the special tool.
    Fig 5: Inserting Sleeve Into Special Tool
    G03641126Courtesy of AMERICAN HONDA MOTOR CO., INC.
  12. 45. Move the sleeve back and forth several times to make the seal rings fit snugly in the sleeve. Make sure the seal rings are not twisted.
  13. 46. Apply power steering fluid to the surface of the pinion shaft (A). Slide the sleeve (B) onto the pinion shaft by aligning the locating pin (C) on the inside of the sleeve with the cutout (D) in the shaft. Then install the new snap ring (E) securely in the pinion shaft groove. Be careful not to damage the valve seal ring when inserting the sleeve.
    Fig 6: Installing Sleeve
    G03641127Courtesy of AMERICAN HONDA MOTOR CO., INC.
  14. 47. Apply power steering fluid to the seal ring lip of the new valve oil seal (A), then install the seal in the valve housing (B) using a hydraulic press and special tools. Install the seal with its grooved side facing the tool.
    Fig 7: Installing Valve Oil Seal In Valve Housing
    G03641128Courtesy of AMERICAN HONDA MOTOR CO., INC.
  15. 48. Press the roller bearing (C) into the valve housing with a hydraulic press and special tools.
  16. 49. Apply vinyl tape (A) to the pinion shaft, then coat the vinyl tape with power steering fluid.
    Fig 8: Inserting Pinion Shaft Into Valve Housing
    G03641129Courtesy of AMERICAN HONDA MOTOR CO., INC.
  17. 50. Insert the pinion shaft into the valve housing (B). Be careful not to damage the valve seal rings (C).
  18. 51. Remove the vinyl tape from the pinion shaft, then remove any residue from the tape adhesive.
  19. 52. Press the pinion shaft/sleeve into the valve housing with a hydraulic press. Check that the pinion shaft/sleeve turns smoothly by hand after installing it.
    Fig 9: Pressing Pinion Shaft/Sleeve Into Valve Housing Using Hydraulic Press
    G03641130Courtesy of AMERICAN HONDA MOTOR CO., INC.
  20. 53. Coat the special tool with power steering fluid, then slide it onto the rack, big end first.
  21. 54. Position the new O-ring (A) and new piston seal ring (B) on the special tool, then slide them down toward the big end of the tool.

    Note these items during reassembly:

    • Do not over expand the resin seal rings. Install the resin seal rings with care so as not to damage them. After installation, make sure you contract the seal ring using the special tool (sizing tool).
    • Replace piston's O-ring and seal ring as a set.
      Fig 10: Positioning New O-Ring And Piston Seal Ring On Special Tool
      G03641131Courtesy of AMERICAN HONDA MOTOR CO., INC.
  22. 55. Pull the O-ring off into the piston groove, then pull the piston seal ring off into the piston groove on top of the O-ring.
  23. 56. Coat the piston seal ring (A) and the inside of the special tool with power steering fluid, then carefully slide the tool onto the rack and over the piston seal ring.
    Fig 11: Sliding Tool Onto Rack And Over Piston Seal Ring
    G03641132Courtesy of AMERICAN HONDA MOTOR CO., INC.
  24. 57. Move the special tool back and forth several times to make the piston seal ring fit snugly in the piston.
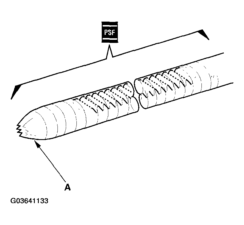
  25. 58. Wrap vinyl tape (A) around the rack teeth and rack end edges, then coat the surface of the tape with power steering fluid. Make sure that the vinyl tape is wrapped carefully so there is no stepped portion.
    Fig 12: Wrapping Vinyl Tape Around Rack Teeth And Rack End Edges
    G03641133Courtesy of AMERICAN HONDA MOTOR CO., INC.
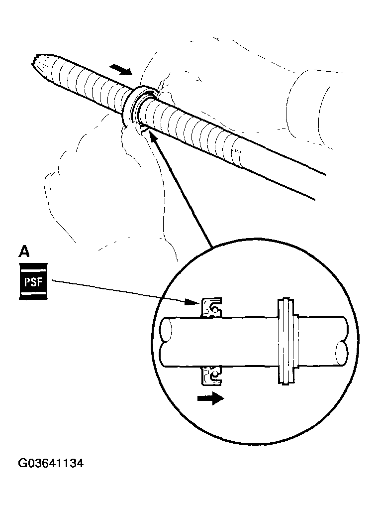
  26. 59. Coat the inside surface of the new cylinder end seal (A) with power steering fluid, then install it onto the steering rack with its grooved side toward the piston. When installing the cylinder end seal, be careful not to damage the lip of the seal with the edges or teeth of the steering rack.
    Fig 13: Installing Seal On Steering Rack
    G03641134Courtesy of AMERICAN HONDA MOTOR CO., INC.
  27. 60. Remove the vinyl tape from the steering rack, then remove any adhesive residue.
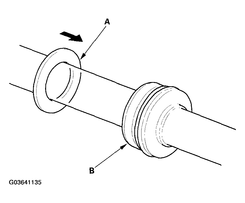
  28. 61. Install the new backup ring (A) on the steering rack, then place the cylinder end seal (B) against the piston.
    Fig 14: Installing New Backup Ring
    G03641135Courtesy of AMERICAN HONDA MOTOR CO., INC.
  29. 62. Apply multipurpose grease the steering rack teeth, then insert the steering rack into the gearbox housing. Be careful not to damage the inner surface of the cylinder wall with the rack edges.
    Fig 15: Inserting Steering Rack Into Gearbox Housing
    G03641136Courtesy of AMERICAN HONDA MOTOR CO., INC.
  30. 63. Insert an appropriate size deep socket wrench (A) onto the steering rack as shown.
    Fig 16: Inserting Deep Socket Wrench Onto Steering Rack
    G03641137Courtesy of AMERICAN HONDA MOTOR CO., INC.
  31. 64. Install the cylinder end seal (B) into the bottom of the cylinder by pressing on the tool with a press. Do not push on the tool with excessive force as it may damage the cylinder end seal.
  32. 65. Remove the tool, and center the steering rack.
  33. 66. Wrap vinyl tape around the rack end edges, and coat the surface of the tape with the power steering fluid. Make sure that the vinyl tape is wrapped carefully so there is no stepped portion.
    Fig 17: Coating Surface Of Tape With Power Steering Fluid
    G03641138Courtesy of AMERICAN HONDA MOTOR CO., INC.
  34. 67. Coat the inside surface of the new cylinder end seal with power steering fluid, then install the seal onto the steering rack with its grooved side toward the piston.
    Fig 18: Installing Seal Onto Steering Rack
    G03641139Courtesy of AMERICAN HONDA MOTOR CO., INC.
  35. 68. Push in the cylinder end seal with your finger. Be careful not to damage the face of the seal with the threads and burrs at the staked position of the cylinder housing.
  36. 69. Remove the vinyl tape from the steering rack, then remove any adhesive residue.
  37. 70. Attach the yoke of a universal puller (commercially available) (A) to the steering gearbox mounts with bolts, then clamp the yoke in a vise with soft jaws. Do not clamp the cylinder housing or gearbox housing in the vise.
    Fig 19: Clamping Yoke In Vise Using Soft Jaws
    G03641140Courtesy of AMERICAN HONDA MOTOR CO., INC.
  38. 71. Coat the inside surface of the cylinder end (A) with power steering fluid, then install the cylinder end by screwing it into the cylinder (B).
    Fig 20: Installing Cylinder End
    G03641141Courtesy of AMERICAN HONDA MOTOR CO., INC.
  39. 72. Remove the yoke from the gearbox. After tightening the cylinder end (C), stake the point of the cylinder shown (opposite from where the stake was removed during disassembly).
  40. 73. Coat the new O-ring (A) with steering grease (08C35-B0534L), and carefully fit it on the valve housing.
    Fig 21: Installing O-Ring On Valve Housing
    G03641142Courtesy of AMERICAN HONDA MOTOR CO., INC.
  41. 74. Apply multipurpose grease to the needle bearing (B) in the gearbox housing, then install the valve body unit (C) by engaging the gears. Note the valve body unit installation position (direction of the line connections).
  42. 75. Tighten the flange bolts (D) to the specified torque.
  43. 76. Install the return line joint (E), and tighten the 16 mm flare nut (F).
  44. 77. Install the cylinder lines.

    Note these items during reassembly:

    • Thoroughly clean the joints of the cylinder lines. The joints must be free of foreign material.
    • Install the cylinder lines by tightening the flare nuts by hand first, then tighten the flare nuts to the specified torque.
      Fig 22: Installing Cylinder Lines
      G03641143Courtesy of AMERICAN HONDA MOTOR CO., INC.
  45. 78. Apply steering grease (08C35-B0534L) to the sliding surface of the rack guide (A), and install it onto the gearbox housing.
    Fig 23: Installing Rack Guide
    G03641144Courtesy of AMERICAN HONDA MOTOR CO., INC.
  46. 79. Remove the old sealant from the rack guide screw (B), then apply new sealant (Three Bond 1215 or LOCTITE 5699) to the middle of the threads. Install the spring (C), rack guide screw and locknut (D).
  47. 80. Adjust the rack guide screw (see RACK GUIDE ADJUSTMENT  ). After adjusting, check that the rack moves smoothly by sliding it right and left.
  48. 81. Install the new stop rubber (A) and lock washer (B) on the rack end (C) in the rack. Align the lock washer tabs (D) with the slots (E). Install the rack end (F) while holding the lock washer in place. Repeat this step for the other side of the rack.
    Fig 24: Installing Stop Rubber And Lock Washer On Rack End In Rack
    G03641145Courtesy of AMERICAN HONDA MOTOR CO., INC.
  49. 82. Hold the flat surface sections (G) of the steering rack with a wrench, and tighten both rack ends. Be careful not to damage the rack surface with the wrench.
  50. 83. Bend the lock washer back against the flat spots on the rack end joint housing.
    Fig 25: Bending Lock Washer
    G03641146Courtesy of AMERICAN HONDA MOTOR CO., INC.
  51. 84. Apply multipurpose grease to the circumference of the rack end joint housing (A).
    Fig 26: Applying Grease To Rack End Joint Housing And Boot Grooves
    G03641147Courtesy of AMERICAN HONDA MOTOR CO., INC.
  52. 85. Apply a light coat of silicone grease (P/N 08798-9013) to the boot grooves (B) on the rack end.
  53. 86. Center the steering rack within its stroke. Install the boots on the rack ends with the tie-rod clips. After installing the boots, wipe the grease off the threaded section (A) of the rack end.
    Fig 27: Installing Boots On Rack Ends With Tie-Rod Clips
    G03641148Courtesy of AMERICAN HONDA MOTOR CO., INC.
  54. 87. Install the new boot bands by aligning the tabs (A) with the holes (B) on the band.
    Fig 28: Installing New Boot Bands By Aligning Tabs With Holes On Band
    G03641149Courtesy of AMERICAN HONDA MOTOR CO., INC.
  55. 88. Close the ear portion (A) of the band with commercially available pincers Oetiker 1098 or equivalent (B).
    Fig 29: Closing Ear Portion Of Band Using Pincers Oetiker
    G03641150Courtesy of AMERICAN HONDA MOTOR CO., INC.
  56. 89. Slide the rack right and left to be certain that the boots are not deformed or twisted.
  57. 90. Reinstall the steering gearbox (see STEERING GEARBOX INSTALLATION  ).
  58. 91. Adjust the rack guide screw (see RACK GUIDE ADJUSTMENT  ).