LEMON Manuals: Even more car manuals for everyone: 1960-2025
Home >> Acura >> 2004 >> TL Standard >> Repair and Diagnosis >> Accessories & Equipment >> Communication Devices >> Multiplex Integrated Control System >> MICU Input Test
April 5, 2026: LEMON Manuals is launched! Read the announcement.

MICU Input Test

NOTE: Make sure the ignition switch is OFF before troubleshooting the under-dash fuse/relay box connectors.
  1. Remove the left kick panel (see TRIM REMOVAL/INSTALLATION - DOOR AREAS ).
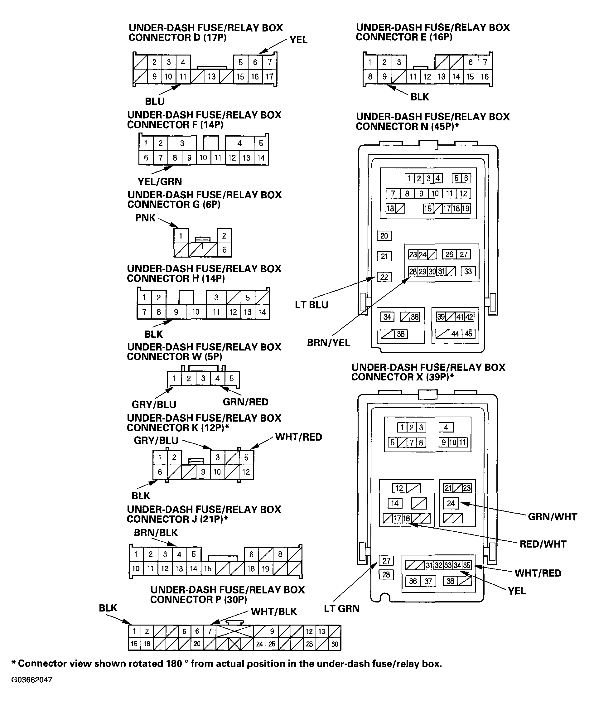
  2. Disconnect the under-dash fuse/relay box connectors D, E, F, G, H, J, K, M, N, P, W and X.
    NOTE: All connectors are wire side of female terminals.
    Fig 1: Identifying Under-Dash Fuse/Relay Box Connectors
    G03662047Courtesy of AMERICAN HONDA MOTOR CO., INC.
  3. Inspect the connector and socket terminals to be sure they are all making good contact.
    • If the terminals are bent, loose or corroded, repair them as necessary, and recheck the system.
    • If the terminals look OK, go to step  4.
  4. Reconnect the connectors to the under-dash fuse/relay box, and make sure these input tests at the appropriate connectors on the under-dash fuse/relay box.
    • If any test indicates a problem, find and correct the cause, then recheck the system.
    • If all the input tests prove OK, go to step  5.
    MICU INPUT TEST - REFERENCE DATA

    Cavity Wire Test condition Test: Desired result Possible cause if result is not obtained
    P7 WHT/BLK Under all conditions Attach to ground:
    The ignition key light should come on.
    • Blown No. 6 (7.5 A) fuse in the under-dash fuse/relay box
    • Faulty LED
    • An open in the wire
    W4 GRIM/RED Interior light switch in the middle position, all doors closed Attach to ground:
    The individual map lights should come on.
    • Blown No. 6 (7.5 A) fuse in the under-dash fuse/relay box
    • Faulty map light
    • An open in the wire
    D6
    X34
    YEL Ignition switch ON (II) Check for voltage to ground:
    There should be battery voltage.
    • Blown No. 21 (7.5 A) fuse in the under-dash fuse/relay box
    • An open in the wire
    K5
    X35
    WHT/RED Under all conditions Check for voltage to ground:
    There should be battery voltage.
    • Blown No. 7 (7.5 A) fuse in the under-dash fuse/relay box
    • An open in the wire
    F8 YEL/GRN Ignition switch ON (II) Check for voltage to ground:
    There should be battery voltage.
    • Blown No. 20(1) fuse in the under-dash fuse/relay box
    • An open in the wire
    X24 GRN/WHT Under all conditions Check for voltage to ground:
    There should be battery voltage.
    • Blown No. 27 (30 A) fuse in the under-dash fuse/relay box
    • An open in the wire
    E9
    H9
    BLK Under all conditions Check for voltage to ground:
    There should be less than 1 V.
    • Poor ground (G503, G601)
    • An open in the wire
    P1 BLK Under all conditions Check for voltage to ground:
    There should be less than 1 V.
    • Poor ground (G502)
    • An open in the wire
    (1) No. 20 (7.5 A): '04-05 models

    No. 20 (15 A): '06 model
    MICU INPUT TEST - REFERENCE DATA

    Cavity Wire Test condition Test: Desired result Possible cause if result is not obtained
    N22 LT BLU Under all conditions Check for continuity between terminal N22 and center panel control unit connector A (14P) No. 14 terminal: There should be continuity. An open in the wire
    Display panel control unit connector A (14P) disconnected Check for continuity to ground: There should be no continuity. Short to ground
    N28 BRN/YEL Under all conditions Check for continuity between terminal N28 and gauge control module connector B (18P) No. 11 terminal:
    There should be continuity.
    An open in the wire
    Gauge control module connector B (18P) disconnected Check for continuity to ground: There should be no continuity. Short to ground
    X18 RED/WHT Under all conditions Check for continuity between terminal X18 and HandsFreeLink control unit connector (22P) No. 14 terminal: There should be continuity. An open in the wire
    HandsFreeLink control unit connector (22P) disconnected Check for continuity to ground:
    There should be no continuity.
    Short to ground
    X27 LT GRN Under all conditions Check for continuity between terminal X27 and wiper/washer connector (8P) No. 4 terminal: There should be continuity. An open in the wire
    Wiper/washer switch connector (8P) disconnected Check for continuity to ground: There should be no continuity. Short to ground
  5. Disconnect the under-dash fuse/relay box connector D, G, and J, and make these input tests at the connector(s).
    • If any test indicates a problem, find and correct the cause, then recheck the system.
    • If all the input tests prove OK, the multiplex integrated control unit must be faulty. Replace the under-dash fuse/relay box.
    MICU INPUT TEST - REFERENCE DATA

    Cavity Wire Test condition Test: Desired result Possible cause if result is not obtained
    D11 BLU Under all conditions Check for continuity between terminal D11 and relay control module connector K (10P) No. 7 terminal: There should be continuity. An open in the wire
    Relay control module connector K (10P) disconnected Check for continuity to ground: There should be no continuity. A short to ground in the wire
    G1 PNK Under all conditions Check for continuity between terminal G1 and power seat control unit connector A (20P) No. 14 terminal: There should be continuity. An open in the wire
    Power seat control unit connector A (20P) disconnected Check for continuity to ground: There should be no continuity. A short to ground in the wire
    J4 BRN/BLK Under all conditions Check for continuity between terminal J4 and power window master switch connector A (22P) No. 5 terminal: There should be continuity. An open in the wire
    Power window master switch (Door multiplex control unit) connector (22P) disconnected Check for continuity to ground: There should be no continuity. A short to ground in the wire