LEMON Manuals: Even more car manuals for everyone: 1960-2025
Home >> Acura >> 2004 >> TSX Automatic >> Repair and Diagnosis >> Transmission >> Automatic Trans >> Automatic Transmission >> ATF Level Check
April 5, 2026: LEMON Manuals is launched! Read the announcement.

ATF Level Check

NOTE: Keep all foreign particles out of the transmission.
  1. Park the vehicle on level ground.
  2. Warm up the engine to normal operating temperature (the radiator fan comes on), and turn the engine off. Do not allow the engine to warm up longer than the time it takes for the radiator fan to come on twice.
    NOTE: Check the fluid level within 60-90 seconds after turning the engine off. Higher fluid level may be indicated if the radiator fan comes on twice or more.
  3. Remove the dipstick (yellow loop) (A) from the dipstick guide tube, and wipe it with a clean cloth.
    Fig 1: Identifying Dipstick (Yellow Loop)
    G05491368Courtesy of AMERICAN HONDA MOTOR CO., INC.
  4. Insert the dipstick aligning the cap (B) with the guide tab (C).
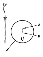
  5. Remove the dipstick and check the fluid level. It should be between the upper mark (A) and the lower mark (B).
    Fig 2: Identifying Fluid Level
    G05491369Courtesy of AMERICAN HONDA MOTOR CO., INC.
  6. If the level is below the lower mark, check for fluid leaks at the transmission, hoses, and line joints. If a problem is found, fix it before filling the transmission with ATF.
    NOTE: If the vehicle is driven when the ATF level is below the lower mark:
    • The transmission may be damaged.
    • The vehicle may not move in any gear.
    • The vehicle may accelerate poorly, and flare starting off in D and R.
    • The engine may vibrate at idle.
  7. If the level is above the upper mark, drain the ATF to the proper level (see step 3 on ATF REPLACEMENT  ).
    NOTE: If the vehicle is driven when the ATF level is above the upper mark, the vehicle may creep forward while in N, or have shifting problems.
  8. If necessary, fill the transmission with ATF through the dipstick guide tube opening (A) to bring the fluid level to midway between the upper mark and the lower mark of the dipstick. Do not fill the fluid above the upper mark. Always use Acura ATF-Z1 automatic transmission fluid (ATF). Using a non-Acura ATF can affect shift quality.
    Fig 3: Identifying Dipstick Guide Tube Opening
    G05491370Courtesy of AMERICAN HONDA MOTOR CO., INC.
  9. Insert the dipstick back into the dipstick guide tube while aligning the cap with the guide tab on the guide tube.