LEMON Manuals: Even more car manuals for everyone: 1960-2025
Home >> Acura >> 2006 >> MDX V6-3.5L >> Repair and Diagnosis >> Windows and Glass >> Windows >> Power Window Control Module >> Testing and Inspection >> Component Tests and General Diagnostics >> Power Window Control Unit Input Test
April 5, 2026: LEMON Manuals is launched! Read the announcement.

Power Window Control Unit Input Test

Power Window Control Unit Input Test

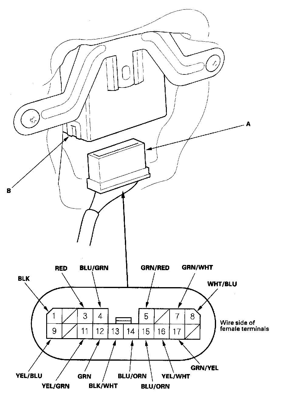
1. Remove the driver's door panel.




2. Disconnect the 18P connector (A) from the power window control unit(B).
3. Inspect the connector and socket terminals to be sure they are all making good contact.
- If the terminals are bent, loose or corroded, repair them as necessary, and recheck the system.
- If the terminals look OK, go to step 4.




4. With the connector still disconnected, make these input tests at the connectors.
- If any test indicates a problem, find and correct, then recheck the system.
- If all the input tests prove OK, go to step 5.




5. Reconnect the 18P connector to the power window control unit and reconnect the passenger's multiplex control unit, then make these input tests at the connector.
- If any test indicates a problem, find and correct the cause, then recheck the system.
- If all the input tests prove OK, the control unit must be faulty; replace it.