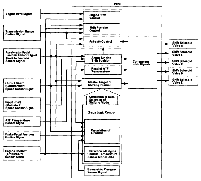
Shift Control - Grade Logic Control
The grade logic control system has been adopted to control shifting in the D position. The PCM compares actual driving conditions with programmed driving conditions, based on the input from the accelerator pedal position sensor, the throttle position sensor, the engine coolant temperature sensor, the barometric pressure sensor, the brake pedal position switch signal, and the shift lever position signal, to control shifting while the vehicle is ascending or descending a slope.