LEMON Manuals: Even more car manuals for everyone: 1960-2025
Home >> Acura >> 2007 >> MDX >> Repair and Diagnosis >> Engine Mechanical >> Mechanical >> Engine Block >> Piston, Pin, and Connecting Rod Replacement >> Disassembly >> Notes
April 5, 2026: LEMON Manuals is launched! Read the announcement.

Piston, Pin, and Connecting Rod Replacement: Disassembly: Notes

  1. Remove the piston from the engine block (see CRANKSHAFT AND PISTON REMOVAL  ).
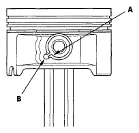
  2. Apply new engine oil to the piston pin snap rings (A) and turn them in the ring grooves until the end gaps are lined up with the cutouts in the piston pin bores (B).
    NOTE: Take care not to damage the ring grooves.
    Fig 1: Identifying Snap Rings
    G05484785Courtesy of AMERICAN HONDA MOTOR CO., INC.
  3. Remove snap rings (A) from both sides of the piston. Start at the cutout in the piston pin bore. Remove the snap rings carefully so they do not go flying or get lost. Wear eye protection.
    Fig 2: Identifying Snap Rings
    G05484786Courtesy of AMERICAN HONDA MOTOR CO., INC.
  4. Heat the piston and connecting rod assembly to about 158°F (70°C), then remove the piston pin.
    Fig 3: Heating Piston And Connecting Rod Assembly
    G05484787Courtesy of AMERICAN HONDA MOTOR CO., INC.