LEMON Manuals: Even more car manuals for everyone: 1960-2025
Home >> Acura >> 2007 >> RDX >> Repair and Diagnosis >> Body & Frame >> Windows >> Power Windows >> Power Window Switch Replacement >> Driver's
April 5, 2026: LEMON Manuals is launched! Read the announcement.

Power Window Switch Replacement: Driver's

  1. Remove the driver's door panel (see FRONT DOOR PANEL REMOVAL/INSTALLATION ).
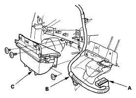
  2. Disconnect the 22P connector (A) from the power window master switch.
    Fig 1: Disconnecting 22P Connector From Power Window Master Switch
    G05446461Courtesy of AMERICAN HONDA MOTOR CO., INC.
  3. Remove the driver's door sub harness (B) from the power window master switch.
  4. Remove the three screws from the door panel, then pull up on the door pocket (C) to release the clips.
  5. Remove the three screws and the power window master switch (A) from the door panel.
    Fig 2: Removing/Installing Power Window Master Switch At Door Panel
    G05446462Courtesy of AMERICAN HONDA MOTOR CO., INC.
  6. Remove the four screws and the power window master switch (A).
    Fig 3: Removing/Installing Power Window Master Switch At Bezel
    G05446463Courtesy of AMERICAN HONDA MOTOR CO., INC.
  7. Install the switch in the reverse order of removal.
  8. After replacement, reset the power window control unit (see RESETTING THE POWER WINDOW CONTROL UNIT ).