LEMON Manuals: Even more car manuals for everyone: 1960-2025
Home >> Acura >> 2007 >> TL Base >> Repair and Diagnosis >> Transmission >> Automatic Trans >> Automatic Transmission >> Secondary Shaft Disassembly >> Exploded View
April 5, 2026: LEMON Manuals is launched! Read the announcement.

Exploded View

Fig 1: Exploded View Of Secondary Shaft With Torque Specifications
G05459241Courtesy of AMERICAN HONDA MOTOR CO., INC.

Special Tools Required 

Wrench, 40 x 42 mm 07XAA-002010A

NOTE: Refer to the Exploded View as needed during the following procedure.
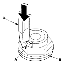
  1. Cut the lock tab (A) of the secondary shaft locknut (B) using a chisel (C).
    NOTE: Keep all of the chiseled particles out of the secondary shaft.
    Fig 2: Cutting Lock Tab Of Secondary Shaft Locknut Using A Chisel
    G05459242Courtesy of AMERICAN HONDA MOTOR CO., INC.
  2. Place a V-block (A) on the back of a vise (B), and clamp the wrench, 40 x 42 mm in the vise jaws (C).
    Fig 3: Placing V-Block On Back Of Vise And Clamp
    G05459243Courtesy of AMERICAN HONDA MOTOR CO., INC.
  3. Place the secondary shaft (D) on the block, and attach the 1st clutch guide (E) to the wrench, 40 x 42 mm. Loosen the locknut, and remove it. Remove any burrs from the splines on the shaft and the spline washer.
  4. Place the idler gear (A) on press bases (B), and place a shaft protector (C) between the secondary shaft (D) and the press to prevent damaging the secondary shaft.
    Fig 4: Identifying Idler Gear, Bases, Shaft Protector And Secondary Shaft
    G05459244Courtesy of AMERICAN HONDA MOTOR CO., INC.
  5. Support the secondary shaft with one hand, then press the secondary shaft out of the press-fitted bearing (E). The secondary shaft will drop down after pressing it out of the press-fitted bearing.
  6. Remove the 1st/1st-hold clutch, the 52 mm washer, the thrust needle bearing, the 1st gear assembly, the needle bearing, the 1st gear collar, the thrust needle bearing, and the idler gear.
  7. Remove the 32 mm snap ring, and remove the 2nd clutch, the splined washer, the thrust needle bearing, the needle bearing, the 2nd gear/park gear, and the thrust needle bearing.
  8. Inspect the bearing for galling and rough movement.
  9. Check the shaft bearing surfaces for scoring and excessive wear, and check the shift splines for excessive wear and damage.
  10. Check the 1st gear axial clearance (see SECONDARY SHAFT 1ST GEAR AXIAL CLEARANCE INSPECTION  ), the 1st gear one-way clutch (see 1ST GEAR ONE-WAY CLUTCH INSPECTION  ), and the secondary shaft installation height (see SECONDARY SHAFT INSTALLATION HEIGHT INSPECTION/ADJUSTMENT  ).