LEMON Manuals: Even more car manuals for everyone: 1960-2025
Home >> Acura >> 2008 >> TL V6-3.2L >> Repair and Diagnosis >> Specifications >> Mechanical Specifications >> Engine >> Cylinder Block Assembly >> System Specifications >> General Specifications
April 5, 2026: LEMON Manuals is launched! Read the announcement.

General Specifications

Surface Variation

Warpage (Standard) 0.07 mm (0.003 in.) max.
Service Limit 0.10 mm (0.004 in.)

Cylinder Bore








Crankshaft

Diameter
Main Journal 71.976 - 72.000 mm (2.8337 - 2.8346 in.)
Rod Journal 54.976 - 55.000 mm (2.1644 - 2.1654 in.)

Journal Taper
Standard (New) 0.005 mm (0.0002 in.) max.
Service Limit 0.010 mm (0.0004 in.)











Main Bearing Cap

Tighten the bearing cap bolts, and then the bearing cap side bolts to the specified torque in the sequence shown. Repeat the torque sequence again to make sure the bolts are properly torqued.

















Connecting Rod

Tightening Torque 20 N.m (2.0 kgf-m, 15 lbf-ft) + 90°

Each connecting rod falls into one of four tolerance ranges from 0 to 0.024 mm (0.0009 in.), in 0.006 mm (0.0002 in.) increments, depending on the size of its big end bore.
It's then stamped with a number or bar (1, 2, 3, or 4/I, II, III, or IIII) indicating the range. You may find any combination of 1, 2, 3, or 4/I, II, III, or IIII in any engine.

Normal bore size 58.0 mm (2.28 in.)
Small-end bore size 21.970 -21.976 mm (0.8650 - 0.8652 in.)

Connecting Rod Bearing














Pistons

















Piston Rings

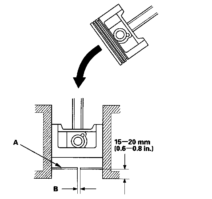
Using a piston, push a new ring (A) into the cylinder bore 15 - 20 mm (0.6 - 0.8 in.) from the bottom.





Piston Ring End-Gap
Top Ring:
Standard (New) 20 - 0.35 mm (0.008 - 0.014 in.)
Service Limit 0.60 mm (0.024 in.)
Second Ring:
Standard (New) 40 - 0.55 mm (0.016 - 0.022 in.)
Service Limit 0.70 mm (0.028 in.)
Oil Ring:
Standard (New) 20 - 0.70 mm (0.008 - 0.028 in.)
Service Limit 0.80 mm (0.031 in.)











Crankshaft Pulley

1) Hold the pulley with the holder handle (A) and holder attachment (B). Torque the bolt to 65 N-m (6.5 kgf-m, 48 lbf-ft) with a torque wrench and heavy duty 19 mm socket (C).
2) Mark the bolt head (D) and crankshaft pulley (E) as shown, then tighten the bolt an additional 60° (The mark on the bolt head lines up with the mark on the crankshaft pulley).