HFL-Navigation Microphone Removal/Installation
WARNING: This page is about a different car, the 2011 Acura TL, 2010 Acura TL, and 2009 Acura TL. However, it is still accessible from the selected car via links, so may be relevant.
- Remove the roof console (see HEADLINER REMOVAL/INSTALLATION )
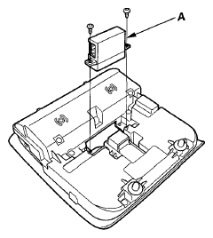
- Remove the screws and HFL-navigation microphone (A)
- Install the HFL-navigation microphone in the reverse order of removal