LEMON Manuals: Even more car manuals for everyone: 1960-2025
Home >> Acura >> 2009 >> CSX Base, Standard >> Repair and Diagnosis >> External Pages >> Different car >> Section 76 (Navigation System) >> System Description >> Function Diagram
April 5, 2026: LEMON Manuals is launched! Read the announcement.

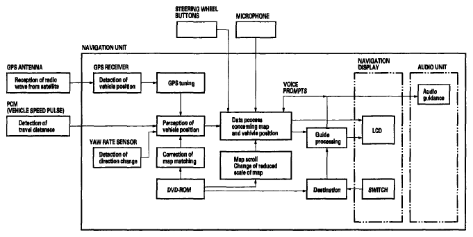
Function Diagram

WARNING: This page is about a different car, the 2008 Acura CSX, 2007 Acura CSX, and 2006 Acura CSX. However, it is still accessible from the selected car via links, so may be relevant.
Fig 1: Navigation Function Diagram
G06268985Courtesy of AMERICAN HONDA MOTOR CO., INC.