LEMON Manuals: Even more car manuals for everyone: 1960-2025
Home >> Acura >> 2009 >> CSX Base, Standard >> Repair and Diagnosis >> External Pages >> Different car >> Section 76 (Navigation System) >> System Description >> Overview
April 5, 2026: LEMON Manuals is launched! Read the announcement.

System Description: Overview

WARNING: This page is about a different car, the 2008 Acura CSX, 2007 Acura CSX, and 2006 Acura CSX. However, it is still accessible from the selected car via links, so may be relevant.

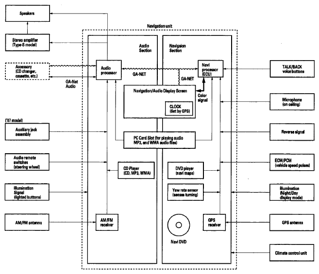
The navigation system is a highly sophisticated, hybrid locating system.

The navigation unit uses global positioning system (GPS) satellite signals, internal yaw and vehicle speed inputs, and a map database to show where the vehicle is and to help guide you to a desired destination.

The navigation unit's GPS receiver receives signals from the GPS, a network of 24 satellites in orbit around the earth. By receiving signals from several of these satellites, the navigation system can determine the latitude, longitude, and elevation of the vehicle.

Signals from the system's yaw rate sensor (inside the navigation unit) detects turns, and the ECM/PCM vehicle speed pulse (VSP) and reverse signal enable the system to keep track of the vehicle's speed and direction of travel. The advantage of this hybrid system is that the system can track your position if either the GPS signal or the vehicle speed signal is missing. For instance, when in a tunnel (no GPS), the speed signal is used to update your position on the map. Alternately, while the vehicle is being transported on a ferry, GPS signals can show the vehicle position on the map as it crosses the water.

The navigation system uses the location, direction, and speed information to display the appropriate map and calculate a route to the destination entered. As you drive to a destination, the system provides both visual and audio guidance. Audio guidance is sent to the audio unit, and an RGB graphics color signal is sent to the navigation display.

This navigation system also has voice recognition that allows voice control of most of the navigation, and audio functions. The voice control switches (TALK and BACK buttons on the steering wheel) activate the voice control system. The microphone on the ceiling receives your voice commands. For more information on this feature, consult the navigation owner's guide.

The illumination signal is used by the navigation unit to automatically switch the display mode between the "Night" and "Day" display modes. When the headlights are on, the dash brightness control setting "full brightness" overrides the "Night" display mode, and allows a daytime navigation display with the lights on.

When the navigation system is giving voice guidance commands, the front speakers are muted. When the voice control system is used (TALK button pressed), all of the speakers are muted.

The internal GA-Net II bus passes information back and forth between the navigation display, the navigation unit, and the audio system components. The information passed on this bus are touch button commands, audio muting signal, audio (radio), and any open in these bus lines can affect the navigation system or other audio accessory operation.

The clock on the navigation display is set and maintained by the navigation unit. The time is automatically adjusted for daylight savings, and time zone changes while driving. The time can be adjusted in setup.

Additional information is available about the navigation components following the System Diagram. A glossary of terms that are used throughout this article follows the detailed information.

The Navigation System manual covers all of the system functions and settings. Use this as a resource when evaluating a client concern.

Fig 1: Navigation System Diagram
G06268984Courtesy of AMERICAN HONDA MOTOR CO., INC.