LEMON Manuals: Even more car manuals for everyone: 1960-2025
Home >> Acura >> 2010 >> TSX L4-2.4L >> Repair and Diagnosis >> Accessories and Optional Equipment >> Memory Positioning Systems >> Testing and Inspection >> Driving Position Memory System (DPMS) Door Multiplex Control Unit Input Test
April 5, 2026: LEMON Manuals is launched! Read the announcement.

Driving Position Memory System (DPMS) Door Multiplex Control Unit Input Test




Driving Position Memory System (DPMS) Door Multiplex Control Unit Input Test

1. Turn the ignition switch to LOCK (0).

2. Remove the power window master switch. Power Window Master Switch Replacement
NOTE: Be careful not to scratch the door trim.

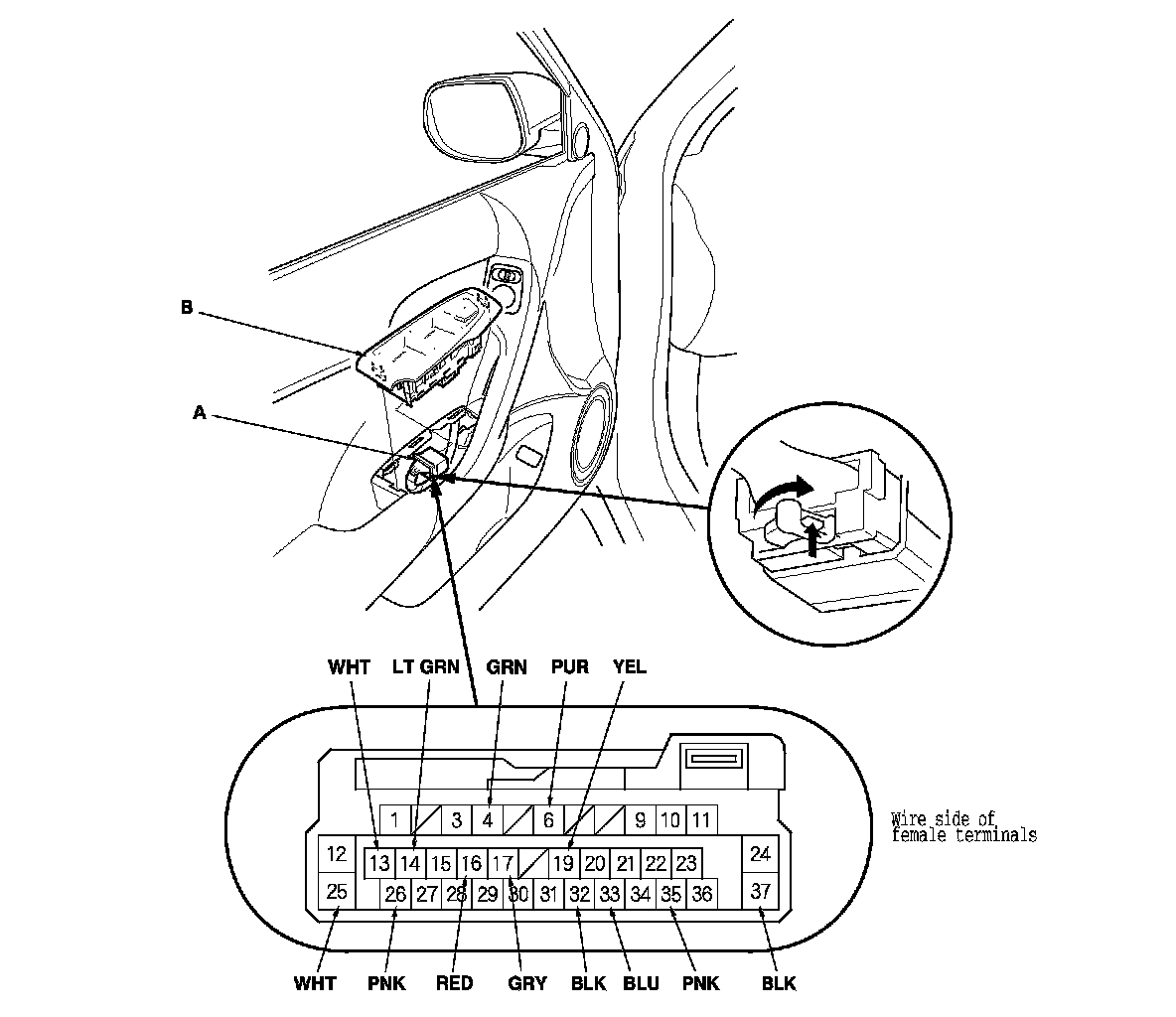
3. Disconnect the 37P connector (A) from the power window master switch (B).

4. Inspect the connector and socket terminals to be sure they are all making good contact.
- If the terminals are bent, loose or corroded, repair them as necessary and recheck the system.

- If the terminals look OK, go to step 5.

5. Reconnect the connector to the power window master switch, and do these input tests at the following connector.
- If any test indicates a problem, find and correct the cause, then recheck the system.

- If all the input tests prove OK, go to step 6.





6. Turn the ignition switch to LOCK (0), then disconnect the connector from the power window master switch, and do these input tests at the following connector.
- If any test indicates a problem, find and correct the cause, then recheck the system.

- If all the input tests prove OK, the door multiplex control unit must be faulty; replace the power window master switch.

NOTE: If you replace the power window master switch, reset the power window control unit. Testing and Inspection