LEMON Manuals: Even more car manuals for everyone: 1960-2025
Home >> Acura >> 2011 >> RDX 2.3 TB2 >> Repair and Diagnosis >> Body & Frame >> Seats >> Driver Position Memory System (DPMS) >> Power Seat Adjustment Switch Test/Replacement
April 5, 2026: LEMON Manuals is launched! Read the announcement.

Power Seat Adjustment Switch Test/Replacement

NOTE: SRS components are located in this area. Review the SRS component locations (see COMPONENT LOCATION INDEX ), and precautions and procedures (see PRECAUTIONS AND PROCEDURES ) before doing repairs or servicing.
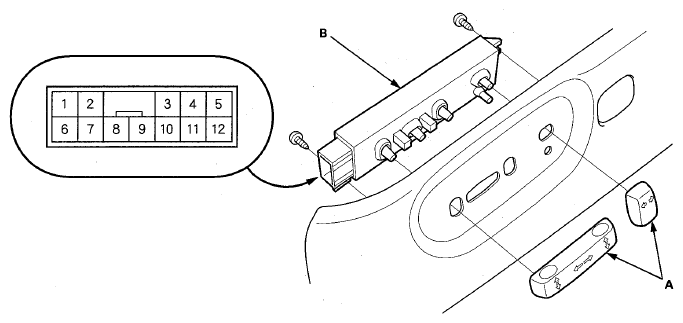
  1. Remove the power seat adjustment switch knobs (A) and the recline cover from the driver's power seat (see FRONT SEAT CUSHION COVER/PAD REPLACEMENT ), then remove the two screws and the power seat adjustment switch (B).
    Fig 1: Identifying Power Seat Adjustment Switch Connector End View
    G08061484Courtesy of AMERICAN HONDA MOTOR CO., INC.
  2. Disconnect the 12P connector from the power seat adjustment switch.
  3. Reinstall the adjustment switch knobs to the switch.
  4. Check for continuity between the terminals in each switch position according to the table.
    Fig 2: Power Seat Adjustment Switch Connector Terminals Continuity Chart
    G08061485Courtesy of AMERICAN HONDA MOTOR CO., INC.
  5. If the continuity is not as specified, replace the switch.