LEMON Manuals: Even more car manuals for everyone: 1960-2025
Home >> Acura >> 2012 >> MDX >> Repair and Diagnosis >> Body & Frame >> Windows >> Glass >> Windshield Replacement
April 5, 2026: LEMON Manuals is launched! Read the announcement.

Windshield Replacement

NOTE:
  • Put on gloves to protect your hands.
  • Wear eye protection while cutting the glass adhesive with a piano wire.
  • Use seat covers to avoid damaging the seat.
  • Glass adhesive can be efficiently cut with a commercially available auto glass tool. See the tool manufacturer's instructions for details.
  1. Remove these items:
  2. Remove the molding (A) from the upper edge of the windshield (B). If necessary, cut the molding with a utility knife.
    Fig 1: Removing Molding From Upper Edge Of Windshield
    G08053176Courtesy of AMERICAN HONDA MOTOR CO., INC.
  3. If the old windshield will be reinstalled, make alignment marks across the windshield and the body with a grease pencil.
  4. Pull down the front area of the headliner (see HEADLINER REMOVAL/INSTALLATION ). Take care not to bend the headliner excessively, or you may crease or break it.
  5. Apply protective tape along the edge of the dashboard and the body. Make a hole with an awl through the rubber dam and the adhesive from inside the vehicle at a corner of the windshield. Push a piece of piano wire through the hole, and wrap each end around a piece of wood.
  6. With a helper on the outside, pull the piano wire (A) back and forth in a sawing motion. Hold the piano wire as close to the windshield (B) as possible to prevent damage to the body and dashboard. Carefully cut through the rubber dam and adhesive (C) around the entire windshield.
    Fig 2: Cutting Through Rubber Dam And Adhesive Around Entire Windshield
    G08053177Courtesy of AMERICAN HONDA MOTOR CO., INC.

    Cutting positions 

    Fig 3: Identifying Windshield Cutting Positions
    G08053178Courtesy of AMERICAN HONDA MOTOR CO., INC.
  7. Carefully remove the windshield.
  8. Scrape smooth the old adhesive with a knife until there is a thickness of about 2 mm (0.08 in) on the bonding surface around the entire windshield opening flange:
    • Do not scrape down to the painted surface of the body; damaged paint will interfere with proper bonding.
    • Remove the rubber dam and fasteners from the body.
  9. Clean the body bonding surface with a shop towel dampened in isopropyl alcohol. After cleaning, keep oil, grease and water from getting on the clean surface.
  10. If you are reinstalling the old windshield, scrape off the old adhesive, the clips, the rubber dam, and the dashboard seal from the windshield with a putty knife. Clean the bonding surfaces on the inside face and the edge of the windshield with isopropyl alcohol. Make sure the bonding surface is kept free of water, oil, and grease.
  11. Apply glass primer to the upper clips mounting areas on the windshield (A), and let it dry. Remove the adhesive backing and attach the upper rubber dam (B), lower rubber dam (C), and the upper clips (D) to the inside of the windshield as shown:
    • Make sure the rubber dam and the clips line up with the alignment marks (E).
    • Make sure the convex area of the left and right clips face toward the left.
    • Be careful not to touch the windshield where adhesive will be applied.
      Fig 4: Identifying Windshield Glass Primer Applying Area
      G08053179Courtesy of AMERICAN HONDA MOTOR CO., INC.
  12. Attach the dashboard seal (A) with adhesive tape to the inside surface of the windshield (B) as shown.
    Fig 5: Identifying Dashboard Seal With Adhesive Tape Applying Dimension
    G08053180Courtesy of AMERICAN HONDA MOTOR CO., INC.
  13. Attach the molding (A) with adhesive tape (B) to the upper edge of the windshield (C). Be careful not to touch the windshield where adhesive will be applied.
    Fig 6: Attaching Molding With Adhesive Tape To Upper Edge Of Windshield
    G08053181Courtesy of AMERICAN HONDA MOTOR CO., INC.
  14. Attach the molding upper seal (A) with adhesive tape to the inside surface of the molding (B) as shown.
    Fig 7: Attaching Molding Upper Seal With Adhesive Tape To Inside Surface Of Molding
    G08053182Courtesy of AMERICAN HONDA MOTOR CO., INC.
  15. Set the windshield in the opening, and center it. Make alignment marks (A) across the windshield and the body with a grease pencil at the four points shown. Make sure both upper clips (B) contact with the edge of the body holes. Be careful not to touch the windshield where the adhesive will be applied.
    Fig 8: Identifying Alignment Marks Across Windshield And Body
    G08053183Courtesy of AMERICAN HONDA MOTOR CO., INC.
  16. Remove the windshield.
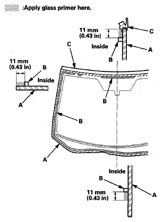
  17. Apply a light coat of glass primer around the edge of the windshield (A) between the dams (B) and molding (C) as shown, then lightly wipe it off with gauze or cheesecloth:
    • Apply glass primer to the molding.
    • Do not apply body primer to the windshield, and do not get body and glass primer sponges mixed up.
    • Never touch the primed surfaces with your hands. If you do, the adhesive may not bond to the windshield properly, causing a leak after the windshield is installed.
    • Keep water, dust, and abrasive materials away from primed surfaces.
      Fig 9: Applying Light Coat Of Glass Primer Around Edge Of Windshield Between Dams And Molding
      G08053184Courtesy of AMERICAN HONDA MOTOR CO., INC.
  18. Carefully apply a light coat of body primer to any exposed paint or metal around the flange where new adhesive will be applied. Let the primer dry for at least 10 minutes:
    • Do not apply body primer to any remaining original adhesive on the flange.
    • Cover on the dashboard before applying the primer.
    • Be careful not to mix up the body and glass primer sponges.
    • Never touch the primed surfaces with your hands.
      Fig 10: Identifying Light Coat Of Body Primer Applying Area To Exposed Paint And Metal Around Flange
      G08053185Courtesy of AMERICAN HONDA MOTOR CO., INC.
  19. Cut a "V" in the end of the nozzle (A) on the adhesive cartridge as shown.
    Fig 11: Identifying Nozzle Cutting Position
    G08053186Courtesy of AMERICAN HONDA MOTOR CO., INC.
  20. Put the cartridge in a caulking gun, and run a continuous bead of the adhesive (A) around the edge of the windshield (B) between the dams (C) and the molding (D) as shown.
    NOTE: Apply the adhesive within 30 minutes after applying the glass primer. Make a slightly thicker bead at each corner.
    Fig 12: Identifying Glass Primer Applying Area To Adhesive Around Edge Of Windshield
    G08053187Courtesy of AMERICAN HONDA MOTOR CO., INC.
  21. Hold the windshield with suction cups over the opening, align it with the alignment marks made in step  15, and set it down on the adhesive. Lightly push on the windshield until its edges are fully seated on adhesive all the way around.
    NOTE: Do not open or close any of the doors for about an hour until the adhesive is dry.
  22. Remove the excess adhesive with a putty knife or a shop towel dampened with isopropyl alcohol.
  23. Wait at least an hour for the adhesive to dry, then spray water over the windshield and check for leaks. Mark leaking areas, and let the windshield dry, then seal with sealant. Let the vehicle stand for at least 4 hours after windshield installation. If the vehicle has to be used within the first 4 hours, it must be driven slowly.
  24. Reinstall all remaining removed parts.
    NOTE: Advise the client not to do the following things for 2 to 3 days:
    • Slam the doors with all the windows rolled up.
    • Twist the body excessively (such as when going in and out of driveways at an angle or driving over rough, uneven roads).