LEMON Manuals: Even more car manuals for everyone: 1960-2025
Home >> Acura >> 2012 >> MDX >> Repair and Diagnosis >> Brakes >> Traction Control >> VSA System Components >> Steering Angle Sensor Replacement
April 5, 2026: LEMON Manuals is launched! Read the announcement.

Steering Angle Sensor Replacement

SRS components are located in this area. Review the SRS component locations (see COMPONENT LOCATION INDEX ) and the precautions and procedures (see PRECAUTIONS AND PROCEDURES ) before doing repairs or service.

NOTE: Do not damage or drop the combination switch as the steering angle sensor is sensitive to shock and vibration.
  1. With the wheels in the straight-ahead position and the steering wheel centered, remove the steering wheel (see STEERING WHEEL REMOVAL ).
  2. Remove the steering column covers (see COLUMN COVER REMOVAL/INSTALLATION ).
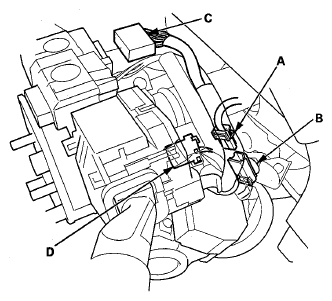
  3. Disconnect the steering angle sensor 5P connector (A) and the clip (B) from the combination switch assembly/cable reel (C).
    Fig 1: Identifying Steering Angle Sensor 5P Connector, Combination Switch Assembly/Cable Reel And Clip
    G08053159Courtesy of AMERICAN HONDA MOTOR CO., INC.
  4. Disconnect the dashboard wire harness 4P connector (A) from the cable reel 4P connector and remove the clip (B), then disconnect the dashboard wire harness 20P connector (C) and the wiper/washer switch 8P connector (D).
    Fig 2: Identifying Dashboard Wire Harness 4P Connector, Wiper/Washer Switch 8P Connector And Clip
    G08053160Courtesy of AMERICAN HONDA MOTOR CO., INC.
  5. Remove the combination switch assembly/cable reel mounting screws (A).
    Fig 3: Identifying Combination Switch Assembly/Cable Reel Mounting Screws
    G08053161Courtesy of AMERICAN HONDA MOTOR CO., INC.
  6. Remove the combination switch assembly/cable reel from the steering column.
  7. Remove the cable reel (see step 8 under INSTALLATION ).
  8. Remove the combination light switch (A) and the wiper/washer switch (B) from the combination switch body assembly (C).
    Fig 4: Identifying Combination Light Switch, Wiper/Washer Switch And Combination Switch Body Assembly
    G08053162Courtesy of AMERICAN HONDA MOTOR CO., INC.
  9. Install the combination switch body assembly in the reverse order of removal, and note these items:
    • Do not remove the steering angle sensor from the combination switch body.
    • When installing the cable reel, set the turn signal canceling sleeve position so that the arrow points straight up (see INSTALLATION ).
    • Note that the tightening order is specified for the combination switch assembly/cable reel mounting screws (see INSTALLATION ).
    • Do the VSA sensor neutral position memorization (see VSA SENSOR NEUTRAL POSITION MEMORIZATION  ).