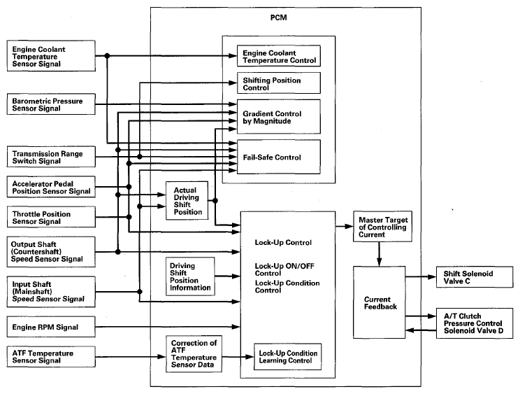
Lock-Up Control
Shift solenoid valve C and A/T clutch pressure control solenoid valve D control the hydraulic pressure to switch the lock-up shift valve and lock-up ON and OFF. When the PCM actuates shift solenoid valve C and A/T clutch pressure control solenoid valve D ON, lock-up starts. A/T clutch pressure control solenoid valve D applies and regulates hydraulic pressure to the lock-up control valve to control the amount of lock-up. The lock-up mechanism operates:
- D - accelerating in 1st, 2nd, 3rd, 4th, 5th, and 6th gears
- D - accelerating in 2nd, 3rd, 4th, 5th, and 6th gears
- S with automatic shift mode - accelerating in 1st, 2nd, 3rd, 4th, and 5th gears
- S with automatic shift mode - decelerating in 2nd, 3rd, 4th, and 5th gears
- S with sequential sportshift mode - accelerating in 1st, 2nd, 3rd, 4th, 5th, and 6th gear
- S with sequential sportshift mode - decelerating in 2nd, 3rd, 4th, 5th, and 6th gears