LEMON Manuals: Even more car manuals for everyone: 1960-2025
Home >> Acura >> 2012 >> RL V6-3.7L >> Repair and Diagnosis >> Body and Frame >> Mirrors >> Memory Positioning Systems >> Memory Positioning Switch >> Service and Repair
April 5, 2026: LEMON Manuals is launched! Read the announcement.

Memory Positioning Switch: Service and Repair




Driving Position Memory Switch Test/Replacement

1. Remove the driver's door panel Front Door Panel Removal/Installation.

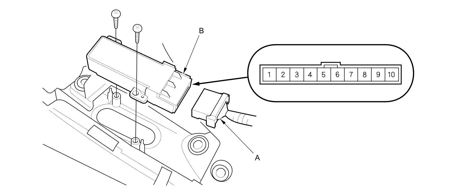
2. Disconnect the 10P connector (A) from the driving position memory switch (B).





3. Remove the two screws, then remove the switch from the door panel.

4. Check for continuity between the terminals in each switch position according to the table.

NOTE:

- Make sure the correct test lead (+ or -) is placed on the terminal.
- When checking for continuity across the diode, use the diode setting () on the digital volt/ohm meter to check the diode bias.
- Be careful of this characteristic; a diode is one that conducts fully in one direction (forward) and not at all in the opposite direction (reverse).





5. If the continuity is not as specified, replace the switch.