LEMON Manuals: Even more car manuals for everyone: 1960-2025
Home >> Acura >> 2012 >> TL Base >> Repair and Diagnosis >> Body & Frame >> Door Locks >> Keyless Access System >> Control Unit Input Test >> Keyless Access Control Unit
April 5, 2026: LEMON Manuals is launched! Read the announcement.

Keyless Access Control Unit

NOTE:
  • Before doing the input tests, check the B- CAN DTCs. If any DTC is indicated, troubleshoot the indicated DTC first.
  • If you are troubleshooting multiple DTCs, be sure to follow the instructions in B- CAN System Diagnosis Test Mode A (see TROUBLESHOOTING - B- CAN SYSTEM DIAGNOSIS TEST MODE A ).
  1. Press the engine start/stop button to select the OFF mode.
  2. Remove the driver's dashboard undercover (see DRIVER'S DASHBOARD UNDERCOVER REMOVAL/INSTALLATION ).
  3. Disconnect the connectors (A) from the keyless access control unit (B).
    NOTE: All connector views are wire side of female terminals.
    Fig 1: Identifying Keyless Access Control Unit And Connectors
    G08067801Courtesy of AMERICAN HONDA MOTOR CO., INC.
  4. inspect the connector and socket terminals to be sure they are all making good contact.
    • If the terminals are bent, loose or corroded, repair them as necessary, and recheck the system.
    • If the terminals look OK, go to step 5.
  5. With the connectors still disconnected, do the following input tests:
    • If any test indicates a problem, find and correct the cause, then recheck the system.
    • If all the input tests prove OK, go to step 6.
      Cavity Wire Test condition Test: Desired result Possible cause if desired result is not obtained
      B4 LT BLU Under all conditions Check for continuity between terminal B4 and data link connector (DLC) terminal No. 7: There should be continuity. An open in the K- LINE wire
      Check for continuity between terminal B4 and body ground: There should be no continuity. A short to ground in the wire
      B11 ORN Under all conditions Check for continuity between terminal B11 and data link connector (DLC) terminal No. 9: There should be continuity. An open or high resistance in the wire
      Check for continuity between terminal B11 and body ground: There should be no continuity. A short to ground in the wire
      B21 LT GRN Disconnect the remote slot control unit 40P connector and driver's under- dash fuse/relay box connector Q (20P). Jump the SCS line with the HDS, disconnect ECM/PCM connector A (49P) Check for continuity between terminal B21 and remote slot control unit 40P connector terminal No. 14: There should be continuity. An open in the S- NET wire
      Check for continuity between terminal B21 and driver's under- dash fuse/relay box connector Q (20P) terminal No. 15: There should be continuity.
      Check for continuity between terminal B21 and ECM/PCM connector A (49P) terminal No. 46: There should be continuity.
      Check for continuity between terminal B21 and body ground: There should be no continuity. A short to ground in the wire
      B27 RED Disconnect the remote slot control unit 40P connector and the remote slot 16P connector Check for continuity between terminal B27 and remote slot control unit 40P connector terminal No. 27: There should be continuity. An open or high resistance in the wire
      Check for continuity between terminal B27 and remote slot 16P connector terminal No. 14: There should be continuity.
      Check for continuity between terminal B27 and body ground: There should be no continuity. A short to ground in the wire
  6. Reconnect the connectors to the keyless access control unit, and do the following input tests:
    • If any test indicates a problem, find and correct the cause, then recheck the system.
    • If all the input tests prove OK, go to step 7.
      Cavity Wire Test condition Test: Desired result Possible cause if desired result is not obtained
      B1 WHT Under all conditions Measure the voltage to ground: There should be battery voltage.
      • Blown No. 15 (10 A) fuse in the under- hood fuse/relay box
      • An open or high resistance in the wire
      B10 PUR Power mode ACC Measure the voltage to ground: There should be battery voltage.
      • Blown No. 18 (7.5 A) fuse in the driver's under- dash fuse/relay box
      • An open or high resistance in the wire
      B17 YEL Power mode ON Measure the voltage to ground: There should be battery voltage.
      • Blown No. 9 (20 A) fuse in the driver's under- dash fuse/relay box
      • An open or high resistance in the wire
      A36 BLK In all power modes Measure the voltage to ground: There should be less than 0.2 V.
      • Poor ground (G402)
      • An open or high resistance in the ground wire
      B32 BLK In all power modes Measure the voltage to ground: There should be less than 0.2 V.
      • Poor ground (G402)
      • An open or high resistance in the ground wire
      C4 WHT Electric steering lock (LOCK) Measure the voltage to ground: There should be about 5 V.
      • Faulty electric steering lock control unit
      • A short to ground in the wire
      Electric steering lock (UNLOCK) Measure the voltage to ground: There should be less than 0.2 V.
      • Faulty electric steering lock control unit
      • An open or high resistance in the wire
      B19 GRY Keyless access system mode switch OFF Measure the voltage to ground: There should be less than 0.2 V.
      • Faulty keyless access system mode switch
      • Poor ground (G501) or an open in the ground wire
      • An open or high resistance in the wire
      Keyless access system mode switch ON Measure the voltage to ground: There should be battery voltage.
      • Faulty keyless access system mode switch
      • A short to ground in the wire
      B23 YEL Front passenger's door outer handle lock switch pushed Measure the voltage to ground: There should be less than 0.2 V.
      • Faulty front passenger's door outer handle
      • Poor ground (G405) or an open in the ground wire
      • An open or high resistance in the wire
      Front passenger's door outer handle lock switch released Measure the voltage to ground: There should be battery voltage.
      • Faulty front passenger's door outer handle
      • A short to ground in the wire
      B26 GRY Driver's door outer handle lock switch pushed Measure the voltage to ground: There should be less than 0.2 V.
      • Faulty driver's door outer handle
      • Poor ground (G401) or an open in the ground wire
      • An open or high resistance in the wire
      Driver's door outer handle lock switch released Measure the voltage to ground: There should be battery voltage.
      • Faulty driver's door outer handle
      • A short to ground in the wire
      B24 LT GRN Power mode ON, parking brake lever pulled Measure the voltage to ground: There should be less than 0.2 V.
      • Faulty parking brake switch
      • An open or high resistance in the wire
      Power mode ON, parking brake lever released Measure the voltage to ground: There should be about 5 V.
      • Faulty parking brake switch
      • A short to ground in the wire
      B28 BRN Trunk lid spoiler switch pushed Measure the voltage to ground: There should be less than 0.2 V.
      • Faulty driver's under- dash fuse/relay box
      • Faulty trunk lid spoiler switch
      • Poor ground (G603) or an open in the ground wire
      • An open or high resistance in the wire
      Trunk lid spoiler switch released Measure the voltage to ground: There should be about 5 V.
      • Faulty driver's under- dash fuse/relay box
      • Faulty trunk lid spoiler switch
      • A short to ground in the wire
      A33 YEL Insert the remote into the remote slot Measure the voltage to ground: There should be less than 0.2 V.
      • Faulty remote slot
      • Poor ground (G403) or an open in the ground wire
      • An open or high resistance in the wire
      B16 PNK Insert the remote into the remote slot Measure the voltage to ground: There should be less than 0.2 V.
      • Faulty remote slot
      • Poor ground (G403) or an open in the ground wire
      • An open or high resistance in the wire

    Power Control Unit 

  7. Press the engine start/stop button to select the OFF mode.
  8. Remove the driver's dashboard undercover (see DRIVER'S DASHBOARD UNDERCOVER REMOVAL/INSTALLATION ).
  9. Disconnect the connectors (A) from the power control unit (B).
    NOTE: All connector views are wire side of female terminals.
    Fig 2: Identifying Power Control Unit And Connectors
    G08067802Courtesy of AMERICAN HONDA MOTOR CO., INC.
  10. Inspect the connector and the socket terminals to be sure they are all making good contact.
    • If the terminals are bent, loose or corroded, repair them as necessary, and recheck the system.
    • If the terminals look OK, go to step 11.
  11. With the connectors still disconnected, do the following input tests:
    • If any test indicates a problem, find and correct the cause, then recheck the system.
    • If all the input tests prove OK, go to step 12.
      Cavity Wire Test condition Test: Desired result Possible cause if desired result is not obtained
      C3 GRY Under all conditions Check for continuity between terminal C3 and data link connector (DLC) terminal No. 1: There should be continuity. An open in the DIAG- H wire
      Check for continuity between terminal C3 and body ground: There should be no continuity. A short to ground in the wire
  12. Reconnect the connectors to the power control unit, and do the following input tests:
    • If any test indicates a problem, find and correct the cause, then recheck the system.
    • If all the input tests prove OK, go to step 13.
      Cavity Wire Test condition Test: Desired result Possible cause if desired result is not obtained
      A1 WHT Under all conditions Measure the voltage to ground: There should be battery voltage.
      • Blown No. 3- 1 (IG MAIN) (50 A) fuse in the under- hood fuse/relay box
      • An open or high resistance in the wire
      C1 WHT Under all conditions Measure the voltage to ground: There should be battery voltage.
      • Blown No. 15 (10 A) fuse in the under- hood fuse/relay box
      • An open or high resistance in the wire
      C20 RED Under all conditions Measure the voltage to ground: There should be battery voltage.
      • Blown No. 12 (10 A) fuse in the passenger's under- dash fuse/relay box
      • An open or high resistance in the wire
      C18 BLK In all power modes Measure the voltage to ground: There should be less than 0.2 V.
      • Poor ground (G402)
      • An open or high resistance in the ground wire
      C36 BLK In all power modes Measure the voltage to ground: There should be less than 0.2 V.
      • Poor ground (G402)
      • An open or high resistance in the ground wire
      C11 BRN Power mode ACC Measure the voltage to ground: There should be battery voltage.
      • Faulty power control unit
      • Faulty driver's under- dash fuse/relay box
      • A short to ground in the wire
      C10 LT GRN Power mode START Measure the voltage to ground: There should be battery voltage.
      • Faulty ECM/PCM
      • Faulty power control unit
      • A short to ground in the wire
      C4 BRN Under all conditions Connect to ground with a jumper wire: The engine start/stop switch light should come on.
      • Blown No. 12 (10 A) fuse in the passenger's under- dash fuse/relay box
      • Faulty engine start/stop switch
      • An open or high resistance in the wire
      C5 YEL Under all conditions Connect to ground with a jumper wire: The engine start/stop switch indicator should come on.
      • Blown No. 12 (10 A) fuse in the passenger's under- dash fuse/relay box
      • Faulty engine start/stop switch
      • An open or high resistance in the wire
      C13 PUR Power mode ON Measure the voltage to ground: There should be battery voltage.
      • Power control unit
      • A short to ground in the wire
      C14 BRN Under all conditions Measure the voltage to ground: There should be battery voltage.
      • Faulty driver's MICU
      • An open or high resistance in the wire
      • A short to ground in the wire
      C19 LT GRN Brake pedal pressed Measure the voltage to ground: There should be battery voltage.
      • Blown No. 10 (20 A) fuse in the under- hood fuse/relay box
      • Faulty brake pedal position switch
      • An open or high resistance in the wire
      • A short to ground in the wire
      C22 LT GRN Power mode ON, parking brake lever pulled Measure the voltage to ground: There should be less than 0.2 V.
      • Faulty parking brake switch
      • An open or high resistance in the wire
      Power mode ON, parking brake lever released Measure the voltage to ground: There should be about 5 V.
      • Faulty parking brake switch
      • A short to ground in the wire
      C23 GRY Keyless access system mode switch OFF Measure the voltage to ground: There should be less than 0.2 V.
      • Faulty keyless access system mode switch
      • Poor ground (G501) or an open in the ground wire
      • An open or high resistance in the wire
      Keyless access system mode switch ON Measure the voltage to ground: There should be battery voltage.
      • Faulty keyless access system mode switch
      • A short to ground in the wire
      C24 (A/T) PUR Shift lever out of P position Measure the voltage to ground: There should be less than 0.2 V.
      • Faulty park pin switch
      • Poor ground (G403) or an open in the ground wire
      • An open or high resistance in the wire
      Shift lever in P position Measure the voltage to ground: There should be battery voltage.
      • Faulty park pin switch
      • A short to ground in the wire
      C25 (A/T) RED Shift lever in P position Measure the voltage to ground: There should be less than 0.2 V.
      • Faulty transmission range switch
      • Poor ground (G101) or an open in the ground wire
      • An open or high resistance in the wire
      Shift lever out of P position Measure the voltage to ground: There should be battery voltage.
      • Faulty transmission range switch
      • A short to ground in the wire
      C26 YEL Insert the remote into the remote slot Measure the voltage to ground: There should be less than 0.2 V.
      • Faulty remote slot
      • Poor ground (G403) or an open in the ground wire
      • An open or high resistance in the wire
      C27 PNK Insert the remote into the remote slot Measure the voltage to ground: There should be less than 0.2 V.
      • Faulty remote slot
      • Poor ground (G403) or an open in the ground wire
      • An open or high resistance in the wire
      C28 (M/T) PNK Power mode ON, clutch pedal pressed. Measure the voltage to ground: There should be less than 0.2 V.
      • Faulty clutch pedal position switch A
      • Poor ground (G301) or an open in the ground wire
      • An open or high resistance in the wire
      Power mode ON, clutch pedal released. Measure the voltage to ground: There should be battery voltage.
      • Faulty clutch pedal position switch A
      • A short to ground in the wire

    Electric Steering Lock 

    NOTE: SRS components are located in this area. Review the SRS component locations (see COMPONENT LOCATION INDEX ), and precautions and procedures (see PRECAUTIONS AND PROCEDURES ) before doing repairs or servicing.
  13. Press the engine start/stop button to select the OFF mode.
  14. Remove the column covers (see SIDE DEFOGGER VENT TRIM REMOVAL/INSTALLATION ).
  15. Disconnect the connector (A) from the electric steering lock (B).
    Fig 3: Identifying Electric Steering Lock And Connectors
    G08067803Courtesy of AMERICAN HONDA MOTOR CO., INC.
  16. Inspect the connector and socket terminals to be sure they are all making good contact.
    • If the terminals are bent, loose or corroded, repair them as necessary, and recheck the system.
    • If the terminals look OK, go to step 17.
  17. Reconnect the connector to the electric steering lock, and do the following input tests:
    • If any test indicates a problem, find and correct the cause, then recheck the system.
    • If all the input tests prove OK, go to step 18.
      Cavity Wire Test condition Test: Desired result Possible cause if desired result is not obtained
      4 RED Under all conditions Measure the voltage to ground: There should be battery voltage.
      • Blown No. 12 (10 A) fuse in the passenger's under- dash fuse/relay box
      • An open or high resistance in the wire
      7 YEL Power mode ON Measure the voltage to ground: There should be battery voltage.
      • Blown No. 9 (20 A) fuse in the driver's under- dash fuse/relay box
      • An open or high resistance in the wire
      12 BLK In all power modes Measure the voltage to ground: There should be less than 0.2 V.
      • Poor ground (G405)
      • An open or high resistance in the ground wire
      11 WHT Electric steering lock (LOCK) Measure the voltage to ground: There should be about 5 V.
      • Faulty electric steering lock control unit
      • A short to ground in the wire
      Electric steering lock (UNLOCK) Measure the voltage to ground: There should be less than 0.2 V.
      • Faulty electric steering lock control unit
      • An open or high resistance in the wire

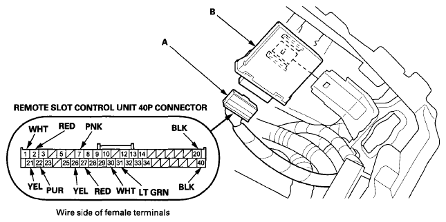
    Remote Slot Control Unit 

  18. Press the engine start/stop button to select the OFF mode.
  19. Remove the glove box (see GLOVE BOX REMOVAL/INSTALLATION ).
  20. Disconnect the connector (A) from the remote slot control unit (B).
    Fig 4: Identifying Remote Slot Control Unit And Connectors
    G08067804Courtesy of AMERICAN HONDA MOTOR CO., INC.
  21. Inspect the connector and the socket terminals to be sure they are all making good contact.
    • If the terminals are bent, loose or corroded, repair them as necessary, and recheck the system.
    • If the terminals look OK, go to step 22.
  22. With the connector still disconnected, do the following input tests:
    • If any test indicates a problem, find and correct the cause, then recheck the system.
    • If all the input tests prove OK, go to step 23.
      Cavity Wire Test condition Test: Desired result Possible cause if desired result is not obtained
      27 RED Disconnect the remote slot 16P connector and keyless access control unit connector B (32P) Check for continuity between terminal No. 27 and remote slot 16P connector terminal No. 14: There should be continuity. An open or high resistance in the wire
      Check for continuity between terminal No. 27 and keyless access control unit connector B (32P) terminal No. 27: There should be continuity.
      Check for continuity between terminal No. 27 and body ground: There should be no continuity. A short to ground in the wire
  23. Reconnect the connector to the remote slot control unit, and do the following input tests:
    • If any test indicates a problem, find and correct the cause, then recheck the system.
    • If all the input tests prove OK, go to step 24.
      Cavity Wire Test condition Test: Desired result Possible cause if desired result is not obtained
      1 WHT Under all conditions Measure the voltage to ground: There should be battery voltage.
      • Blown No. 15 (10 A) fuse in the under- hood fuse/relay box
      • An open or high resistance in the wire
      2 RED Under all conditions Measure the voltage to ground: There should be battery voltage.
      • Blown No. 12 (10 A) fuse in the passenger's under- dash fuse/relay box
      • An open or high resistance in the wire
      21 YEL Power mode ON Measure the voltage to ground: There should be battery voltage.
      • Blown No. 9 (20 A) fuse in the driver's under- dash fuse/relay box
      • An open or high resistance in the wire
      22 PUR Power mode ACC Measure the voltage to ground: There should be battery voltage.
      • Blown No. 18 (7.5 A) fuse in the driver's under- dash fuse/relay box
      • An open or high resistance in the wire
      20 BLK In all power modes Measure the voltage to ground: There should be less than 0.2 V.
      • Poor ground (G405)
      • An open or high resistance in the ground wire
      40 BLK In all power modes Measure the voltage to ground: There should be less than 0.2 V.
      • Poor ground (G405)
      • An open or high resistance in the ground wire
      7 PNK Insert the remote into the remote slot Measure the voltage to ground: There should be less than 0.2 V.
      • Faulty remote slot
      • Poor ground (G403) or an open in the ground wire
      • An open or high resistance in the wire
      26 YEL Insert the remote into the remote slot Measure the voltage to ground: There should be less than 0.2 V.
      • Faulty remote slot
      • Poor ground (G403) or an open in the ground wire
      • An open or high resistance in the wire
      30 WHT Electric steering lock (LOCK) Measure the voltage to ground: There should be about 5 V.
      • Faulty electric steering lock control unit
      • A short to ground in the wire
      Electric steering lock (UNLOCK) Measure the voltage to ground: There should be less than 0.2 V.
      • Faulty electric steering lock control unit
      • An open or high resistance in the wire
      31 LT GRN Power mode ON, parking brake lever pulled Measure the voltage to ground: There should be less than 0.2 V.
      • Faulty parking brake switch
      • An open or high resistance in the wire
      Power mode ON, parking brake lever released Measure the voltage to ground: There should be about 5 V.
      • Faulty parking brake switch
      • A short to ground in the wire
  24. If multiple failures are found on more than one control unit, replace the keyless access control unit. If input failures are related to a particular control unit, replace the control unit.