LEMON Manuals: Even more car manuals for everyone: 1960-2025
Home >> Acura >> 2012 >> TL Base >> Repair and Diagnosis >> Brakes >> Traction Control >> VSA System Components >> VSA Off Switch Test/Replacement
April 5, 2026: LEMON Manuals is launched! Read the announcement.

VSA Off Switch Test/Replacement

  1. Turn the ignition switch to LOCK (0), or press the engine start/stop button to select the OFF mode.
  2. Remove the driver's switch panel (see DRIVER'S SWITCH PANEL REMOVAL/INSTALLATION ).
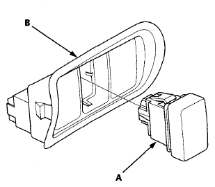
  3. Remove the VSA OFF switch (A) from the driver's switch panel (B).
    Fig 1: Identifying VSA OFF Switch And Driver's Switch Panel
    G08067211Courtesy of AMERICAN HONDA MOTOR CO., INC.
  4. On the switch side, check for continuity between the VSA OFF switch 5P connector terminal in each switch position according to the table.
    Fig 2: Checking Continuity Between VSA OFF Switch 5P Connector Terminal In Each Switch Position
    G08067212Courtesy of AMERICAN HONDA MOTOR CO., INC.
    • If the switch does not work as described in the table, replace the switch.
    • If the switch tests OK, go to step 5.
  5. On the switch side, check for continuity between VSA OFF switch 5P connector terminals No. 4 and No. 5. There should be continuity at all times.
    Fig 3: Checking Continuity Between VSA OFF Switch 5P Connector Terminals No. 4 And No. 5
    G08067213Courtesy of AMERICAN HONDA MOTOR CO., INC.
  6. If the continuity is not as specified, replace the VSA OFF switch.
  7. Install the VSA OFF switch in the reverse order of removal.