LEMON Manuals: Even more car manuals for everyone: 1960-2025
Home >> Acura >> 2012 >> ZDX V6-3.7L >> Repair and Diagnosis >> Body and Frame >> Mirrors >> Service and Repair >> Power Mirror Control Unit Input Test/Replacement
April 5, 2026: LEMON Manuals is launched! Read the announcement.

Power Mirror Control Unit Input Test/Replacement




Power Mirror Control Unit Input Test/Replacement

NOTE: Before troubleshooting the DPMS, troubleshoot the multiplex integrated control system first using B-CAN System Diagnosis Test Mode A Troubleshooting - B-CAN System Diagnosis Test Mode A.

1. Turn the ignition switch to LOCK (0), or press the engine start/stop button to select the OFF mode.

2. Remove the driver's dashboard undercover Driver's Dashboard Undercover Removal / Installation.

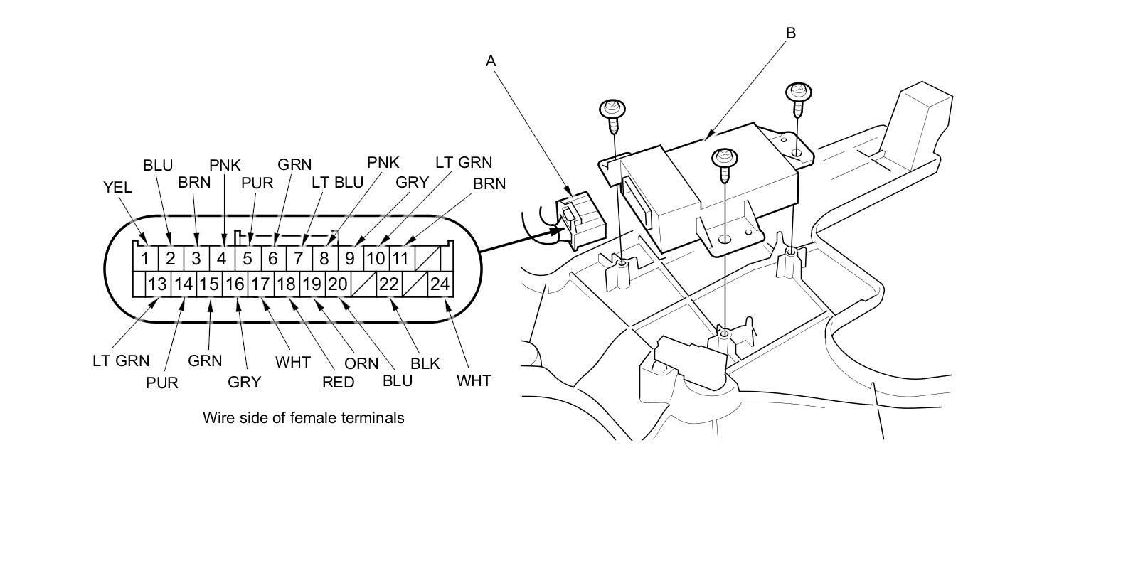
3. Disconnect the 24P connector (A) from the power mirror control unit (B).





4. Inspect the connector and socket terminals to be sure they are all making good contact.

- If the terminals are bent, loose or corroded, repair them as necessary, and recheck the system.
- If the terminals look OK, go to step 5.

5. Reconnect the connector to the power mirror control unit, and do the following input tests.

- If any test indicates a problem, find and correct the cause, then recheck the system.
- If all the input tests prove OK, go to step 6.





6. Turn the ignition switch to LOCK (0), or press the engine start/stop button to select the OFF mode.

7. Disconnect the connectors from the power mirror control unit, and do the following input tests.

- If any test indicates a problem, find and correct the cause, then recheck the system.
- If all the input tests prove OK, the control unit must be faulty; replace it.