LEMON Manuals: Even more car manuals for everyone: 1960-2025
Home >> Acura >> 2012 >> ZDX >> Repair and Diagnosis >> Brakes >> Traction Control >> VSA System Components >> System Description >> Modulator Unit
April 5, 2026: LEMON Manuals is launched! Read the announcement.

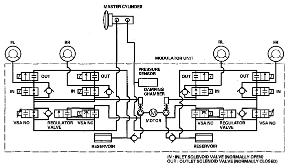
Modulator Unit

The modulator unit consists of the inlet solenoid valve, the outlet solenoid valve, the VSA NO (normally open) solenoid valve, the VSA NC (normally closed) solenoid valve, the reservoir, the pump, the pump motor, and the damping chamber.

The hydraulic control has three modes of ABS action; pressure intensifying, pressure retaining, and pressure reducing. Pressure intensifying mode (VSA) is a combination of the TCS, VSA, and brake assist action.

The hydraulic circuit is an independent four channel type; one channel for each wheel.

Fig 1: Modulator Unit Circuit Diagram
G08076095Courtesy of AMERICAN HONDA MOTOR CO., INC.
Mode VSA NO Valve VSA NC Valve Inlet Solenoid Valve Outlet Solenoid Valve Brake Fluid
Pressure intensifying mode  open closed open closed Master cylinder fluid is pumped out to the caliper.
Pressure retaining mode  open closed closed closed Caliper fluid is retained by the inlet and outlet valves.
Pressure reducing mode  open closed closed open
  • Caliper fluid flows through the outlet valve to the reservoir.
  • The motor pumps the reservoir fluid through the damping chamber to the master cylinder(1).
Pressure intensifying mode (VSA) closed open open closed
  • Master cylinder fluid is pumped out by the pump through the VSA NC valve to the caliper.
  • Caliper fluid pressure exceeds master cylinder pressure.
(1) The motor will continue running until the operation of the one anti-lock brake control is finished with the first pressure reducing mode.